Zerto-Turn Mäher BRAKE AND WHEEL HUB ASSEMBLY Ricambi
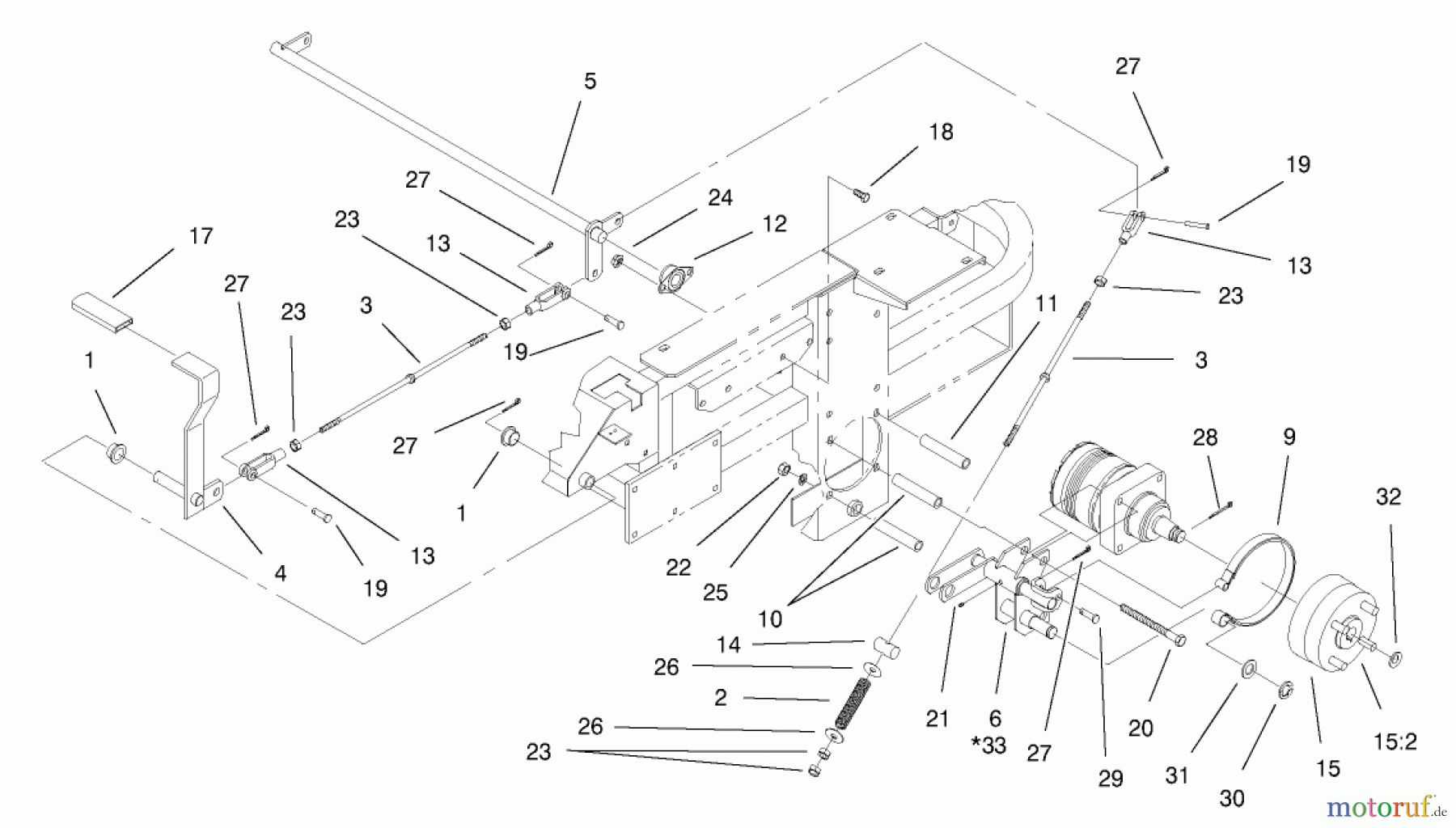
BRAKE AND WHEEL HUB ASSEMBLY 74211 (Z252L) - Toro Z Master Mower, 52" SFS Side Discharge Deck (SN: 200000001 - 200999999) (2000)



Gestione della qualità
Aiutaci a migliorare il nostro sito. Informaci se trovi un errore.

