Mäher, Stand-on SPINDLE ASSEMBLY NO. 117-7638 Ricambi
SPINDLE ASSEMBLY NO. 117-7638 74534 - Toro GrandStand Mower, 36" TURBO FORCE Cutting Unit (SN: 313000001 - 313999999) (2013)

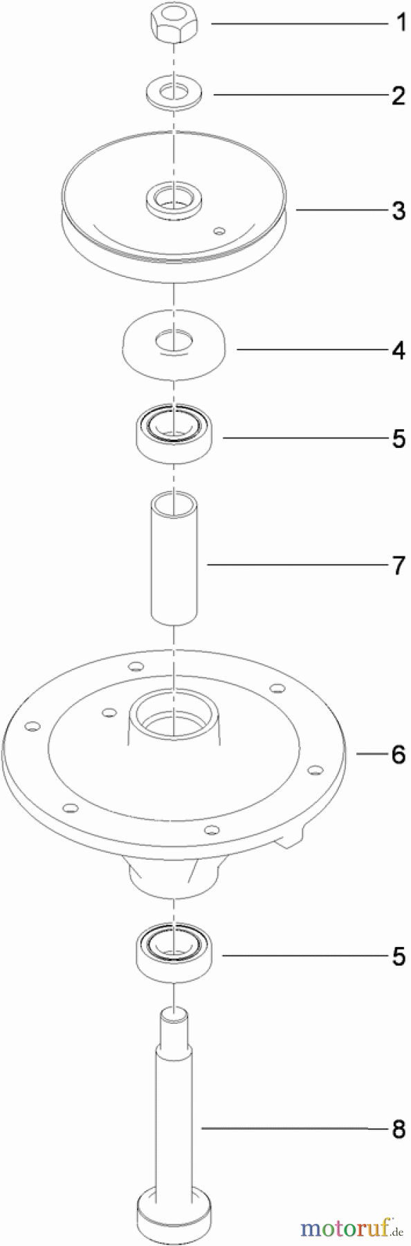
| Posizione | Articolo numero | Descrizione | |
| 1 | TR3219-7 | Mutter | |
| 2 | TR7-4150 | WASHER | |
| 3 | TR117-7614 | PULLEY ASM | |
| 4 | TR106-0873 | Lagerdeckel | |
| 5 | TR116-0720 | BEARING-BALL | |
| 6 | TR108-6696 | HOUSING-SPINDLE | |
| 7 | TR110-0727 | SPACER-BEARING | |
| 8 | TR110-0726 | SHAFT-SPINDLE | |



