.it
Carrello
vuoto
Il mio account
Registrati
Log in
Benvenuti
Contatti
Spedizione
L’azienda
Guest book
Condizioni e Privacy
Catalogare
Tagliare, profilare
Componenti per motore
Officine meccaniche
Parti e componentistica per macchine varie
Forestali
Articoli elettrici
Articoli invernali
Cinghie trapezoidali e relative pulegge
Filters
PEZZI DI RICAMBIO
Sprocket Rims
Guide Bars
Chainsaw Chains
Search by Part Number
Diagrammi ed elenchi
Servizio
Determine Chain
Ricerca
DE
EN
FR
ES
IT
Versione mobile
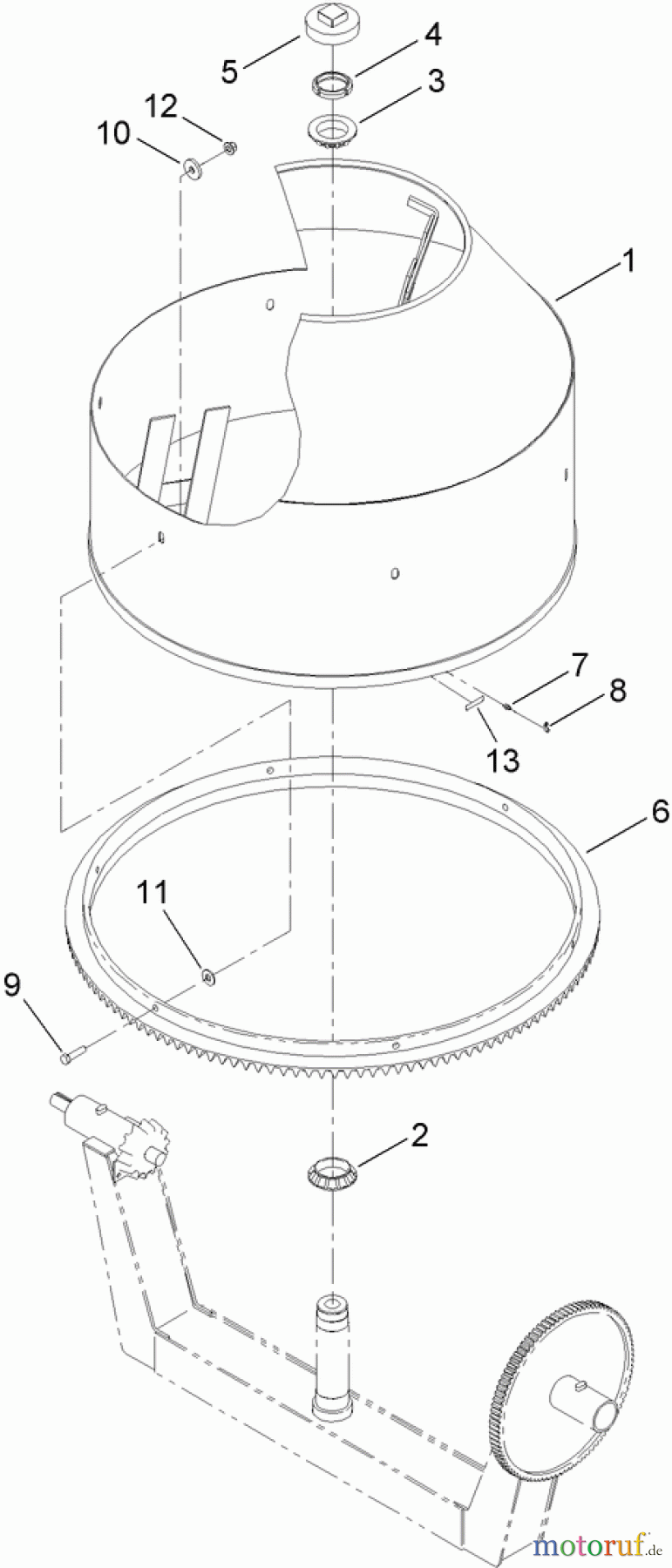
Concrete & Masonry Equipment DRUM ASSEMBLY Ricambi
Start
Concrete & Masonry Equipment
68011C (CM-1258Y-SD) - Toro Concrete Mixer (SN: 313000001 - 313999999)
DRUM ASSEMBLY
DRUM ASSEMBLY 68011C (CM-1258Y-SD) - Toro Concrete Mixer (SN: 313000001 - 313999999) (2013)
Posizione
Articolo numero
Descrizione
1
TR125-8687-01
2
TRST32283
3
TRST32282
4
TRST32285
5
TRST32287
6
TRST39078-01
7
TRST46057
8
TRST47001
9
TR325-8
Schraube
10
TRST26326
11
TR3256-6
Scheibe
12
TR99-5107
NUT-LOCK
13
TR125-8175
Gestione della qualità
Aiutaci a migliorare il nostro sito. Informaci se trovi un errore.