Tanaka Moby - X 26cc PowerBoard Deck Ricambi
Deck Moby - Tanaka X 26cc PowerBoard

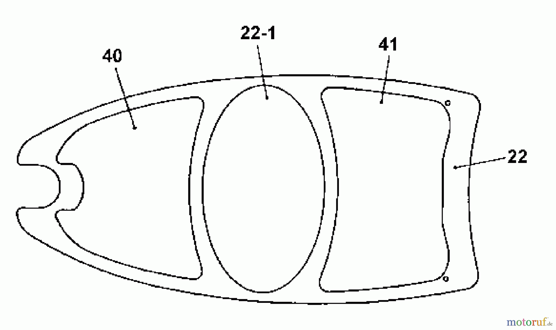
| Posizione | Articolo numero | Descrizione | |
| 22 | Tecumseh 590408 | ||
| 22-1 | Tecumseh 31512 | ||
| 40 | Tecumseh 31513 | ||
| 41 | Tecumseh 31514 | ||


Gestione della qualità
Aiutaci a migliorare il nostro sito. Informaci se trovi un errore.

