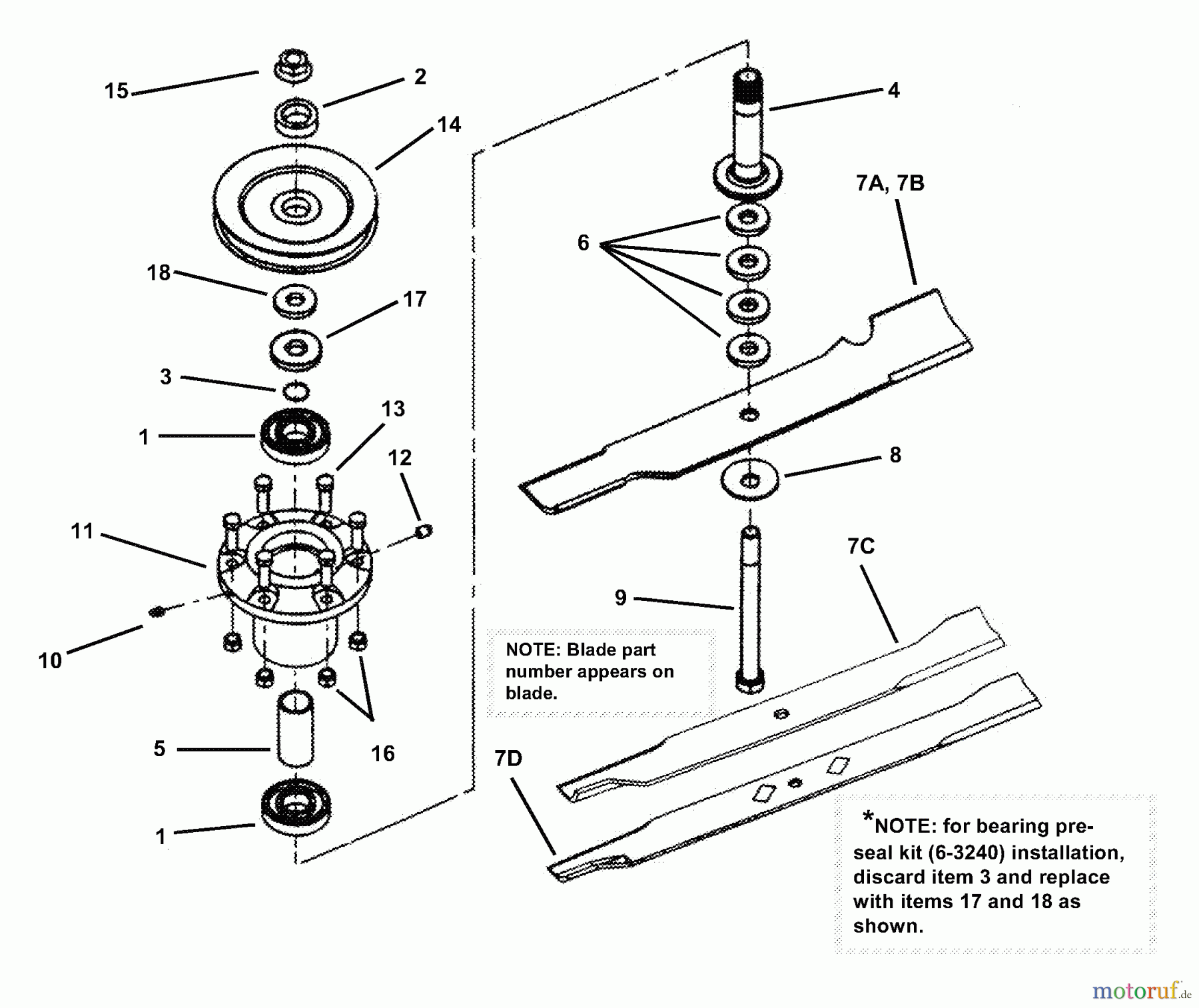
Snapper ZF2501KH (84574) - 25 HP Zero-Turn Mower, Out Front, Z-Rider Series 1 Cutter Housing Assembly Ricambi
Cutter Housing Assembly ZF2501KH (84574) - Snapper 25 HP Zero-Turn Mower, Out Front, Z-Rider Series 1



Gestione della qualità
Aiutaci a migliorare il nostro sito. Informaci se trovi un errore.

