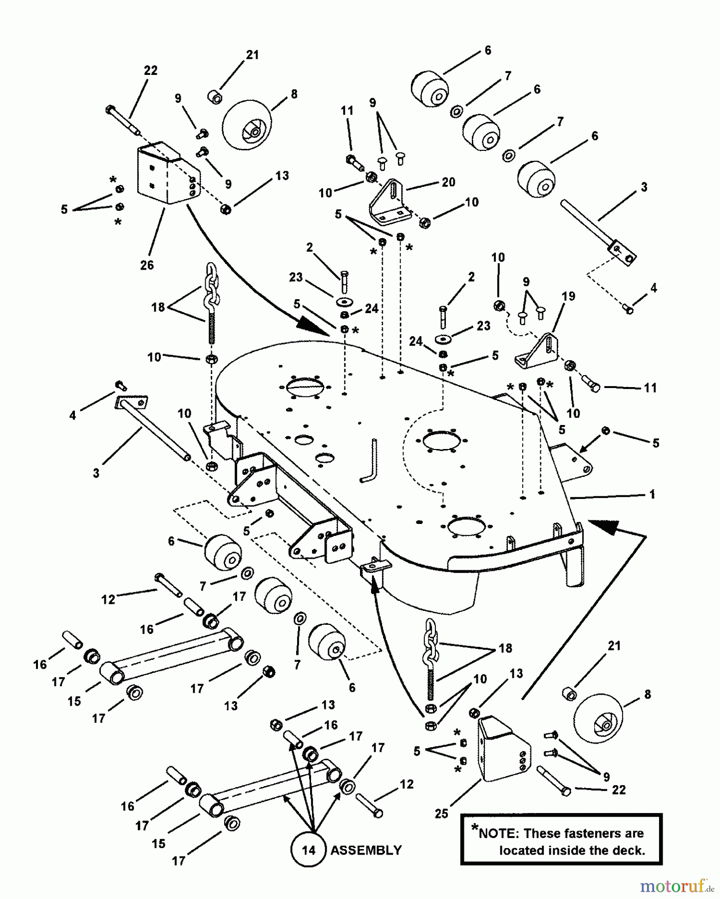
Snapper NZM19483KWV (7800020) - 48" Zero-Turn Mower, 19 HP, Kawasaki, Mid Mount, Z-Rider Commercial Lawn & Turf Series 3 48" CUTTING DECK ASSEMBLY (Sub Assy) Ricambi
48" CUTTING DECK ASSEMBLY (Sub Assy) NZM19483KWV (7800020) - Snapper 48" Zero-Turn Mower, 19 HP, Kawasaki, Mid Mount, Z-Rider Commercial Lawn & Turf Series 3



Gestione della qualità
Aiutaci a migliorare il nostro sito. Informaci se trovi un errore.

