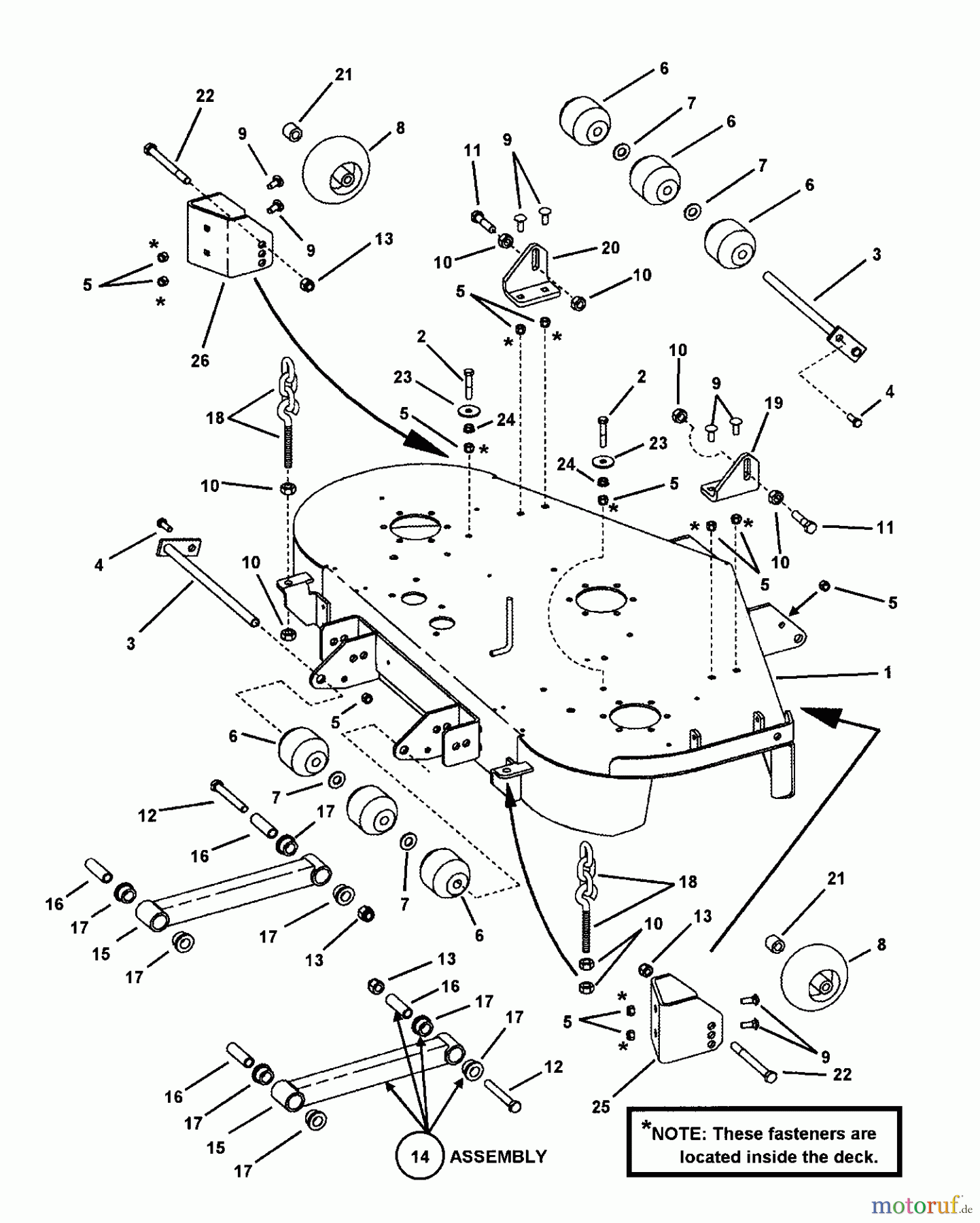
Snapper NZM19480KWV (84738) - 48" Zero-Turn Mower, 19 HP, Kawasaki, Mid Mount, Z-Rider Commercial Lawn & Turf Series 0 48" CUTTING DECK ASSEMBLY PT.1 Ricambi
48" CUTTING DECK ASSEMBLY PT.1 NZM19480KWV (84738) - Snapper 48" Zero-Turn Mower, 19 HP, Kawasaki, Mid Mount, Z-Rider Commercial Lawn & Turf Series 0




