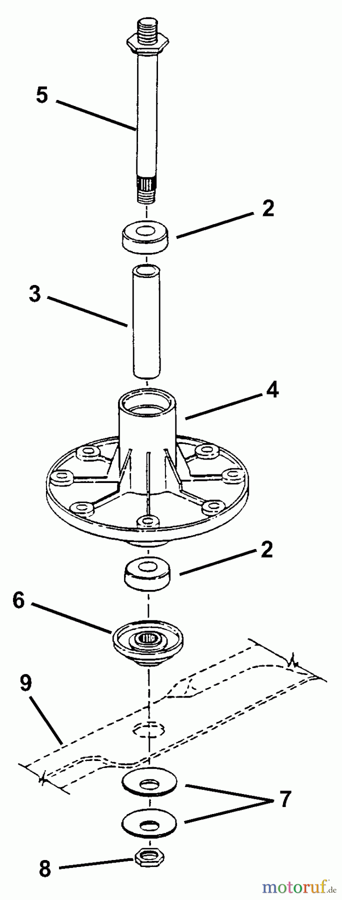
Snapper HZS14381BVE - 38" Zero-Turn Mower, 14 HP, ZTR Yard Cruiser, Series 1 Spindle Assembly Ricambi
Spindle Assembly HZS14381BVE - Snapper 38" Zero-Turn Mower, 14 HP, ZTR Yard Cruiser, Series 1



Gestione della qualità
Aiutaci a migliorare il nostro sito. Informaci se trovi un errore.


