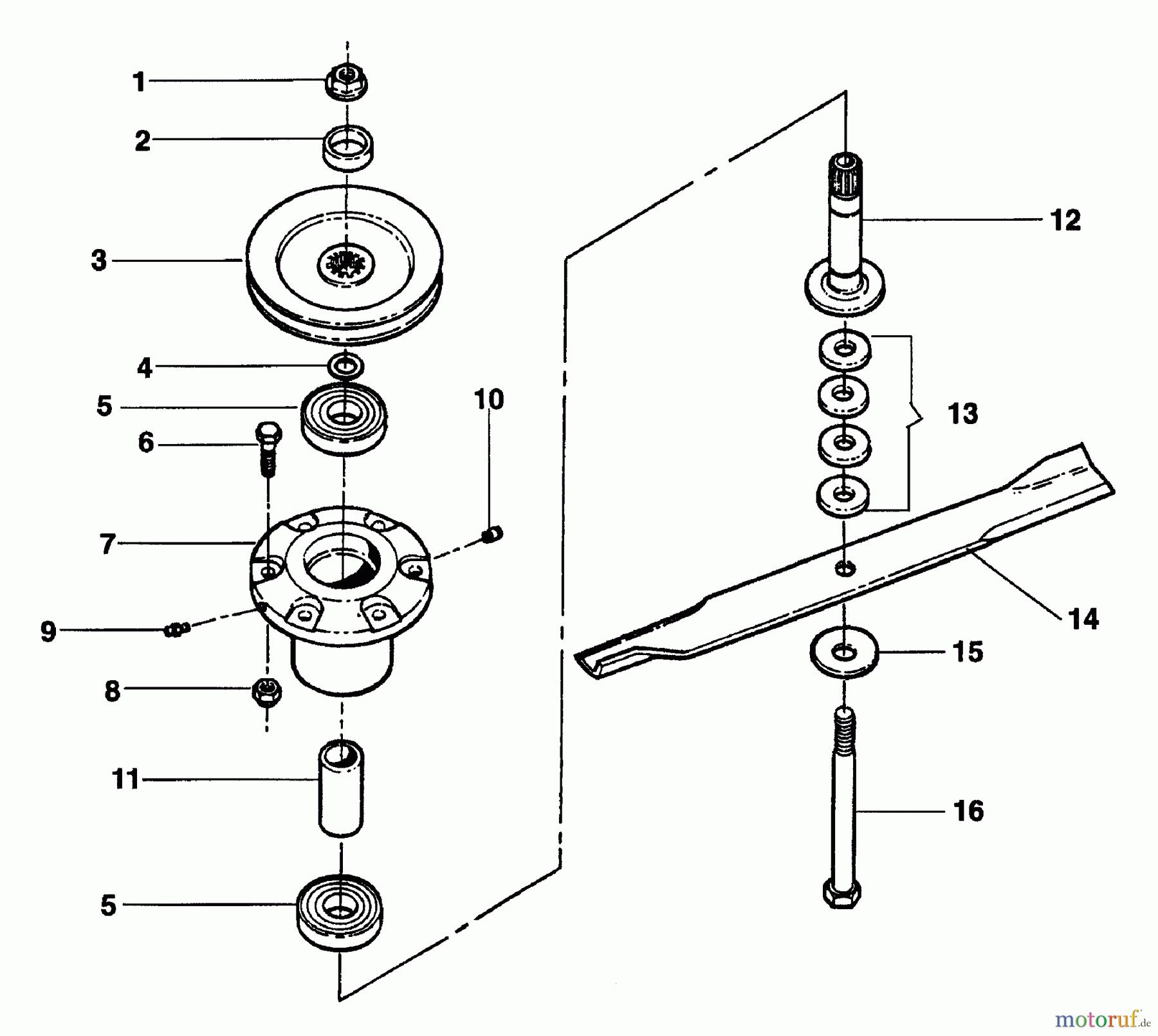
Snapper ZF7302M - 73" Out Front Mower, Commercial Lawn & Turf Series 2 Spindle Group Ricambi
Spindle Group ZF7302M - Snapper 73" Out Front Mower, Commercial Lawn & Turf Series 2



Gestione della qualità
Aiutaci a migliorare il nostro sito. Informaci se trovi un errore.

