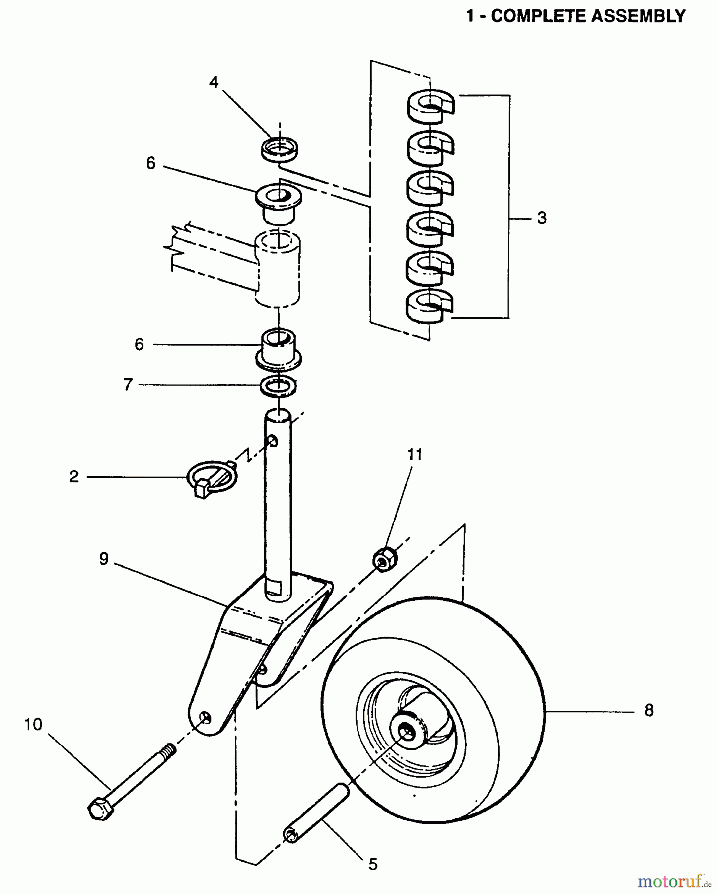
Snapper FM7300 (84320) - 73" Commercial Lawn & Turf Series 0 Caster Assembly Ricambi
Caster Assembly FM7300 (84320) - Snapper 73" Commercial Lawn & Turf Series 0



Gestione della qualità
Aiutaci a migliorare il nostro sito. Informaci se trovi un errore.

