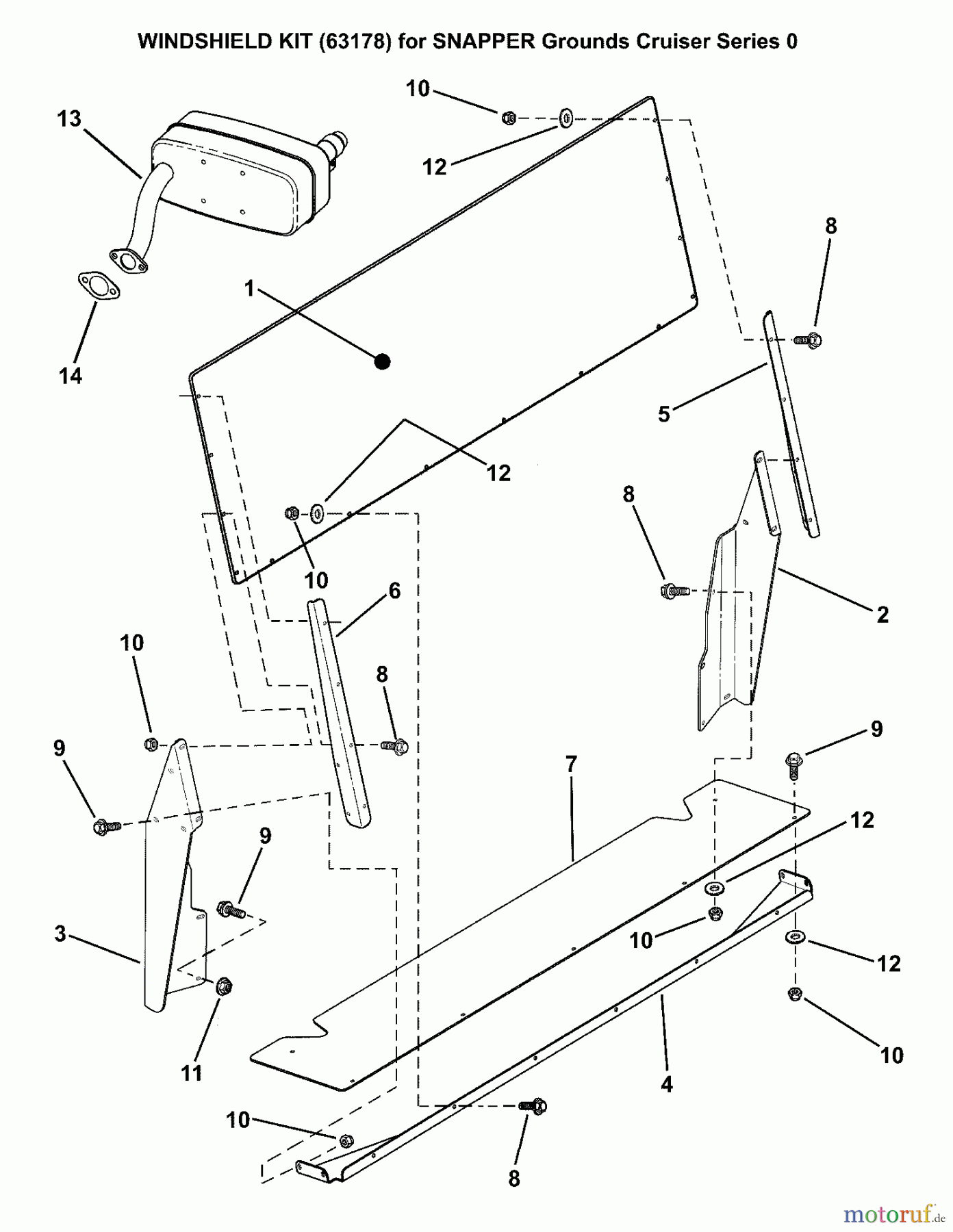
Snapper 7063178 - Utility Vehicle Windshield, Series 0 Grounds Cruiser Windshield Kit w/Muffler Ricambi
Grounds Cruiser Windshield Kit w/Muffler 7063178 - Snapper Utility Vehicle Windshield, Series 0



Gestione della qualità
Aiutaci a migliorare il nostro sito. Informaci se trovi un errore.


