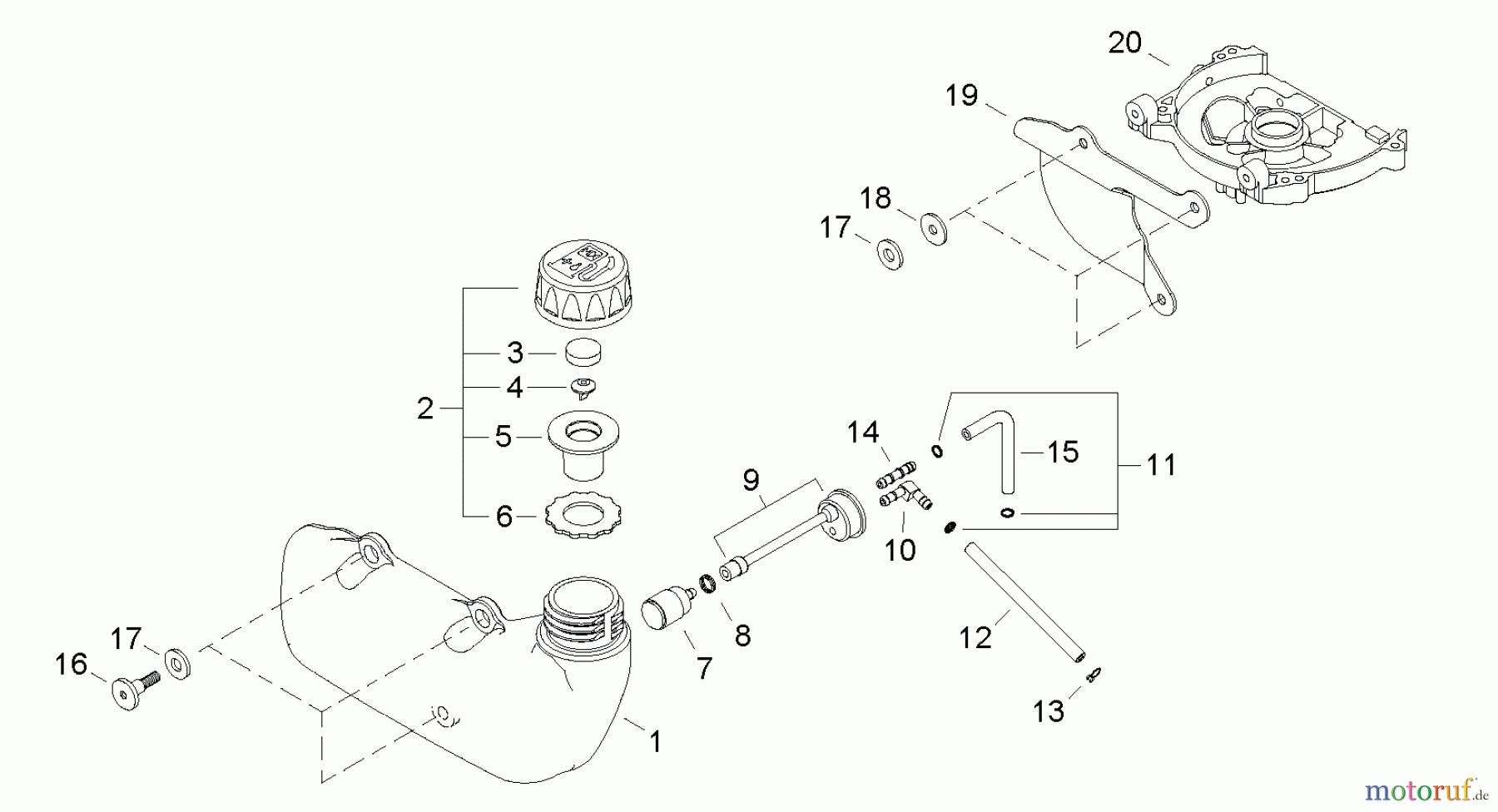
Shindaiwa DH231 - Hedge Trimmer, Dual-Sided, S/N: T09213001001 - T09213999999 Fuel Tank Ricambi
Fuel Tank DH231 - Shindaiwa Hedge Trimmer, Dual-Sided, S/N: T09213001001 - T09213999999



Gestione della qualità
Aiutaci a migliorare il nostro sito. Informaci se trovi un errore.


