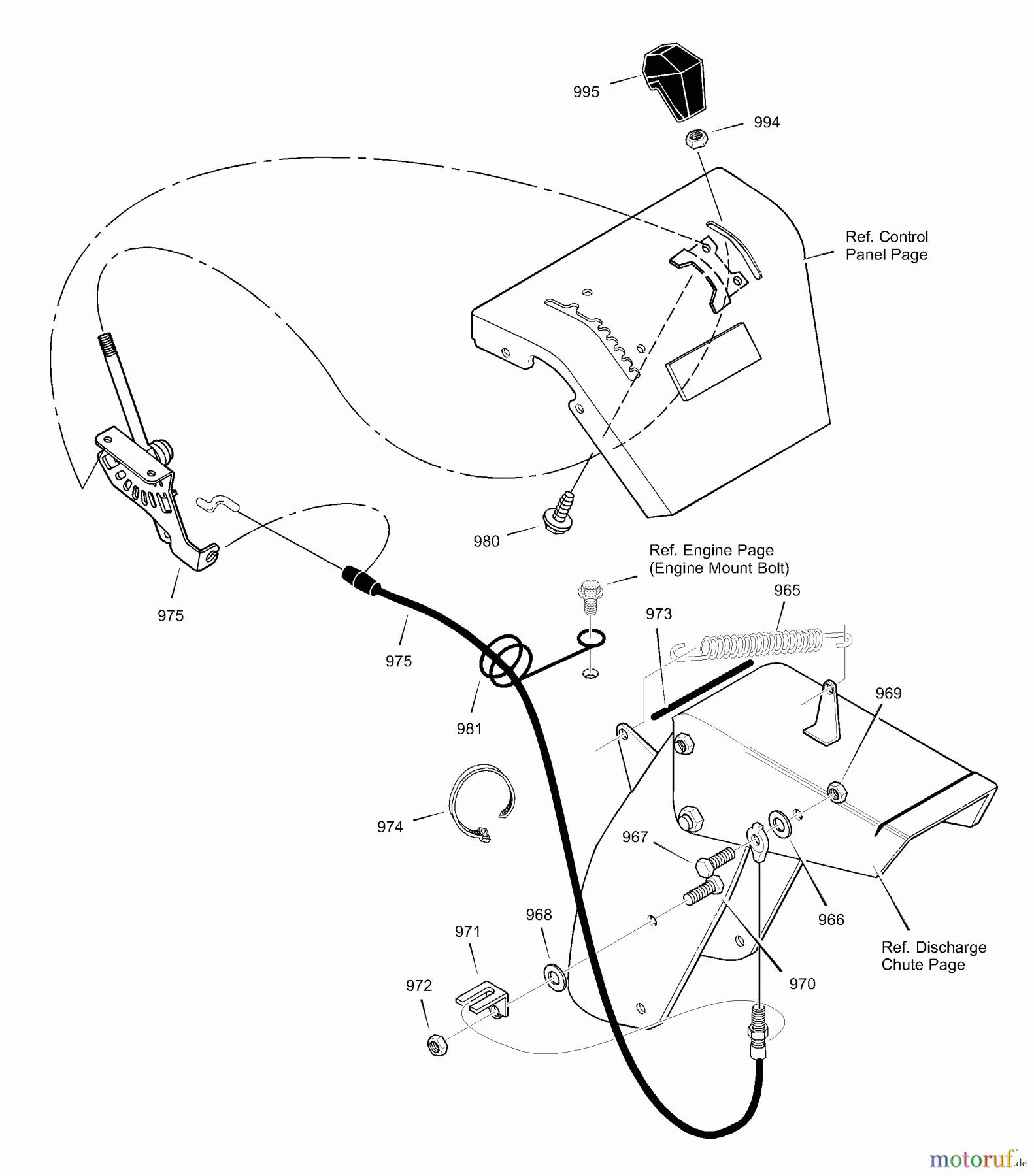
Murray 629904x0A - B&S/ 29" Dual Stage Snow Thrower (2002) (Northern Tool) Remote Control Ricambi
Remote Control 629904x0A - B&S/Murray 29" Dual Stage Snow Thrower (2002) (Northern Tool)



Gestione della qualità
Aiutaci a migliorare il nostro sito. Informaci se trovi un errore.

