.it
Carrello
vuoto
Il mio account
Registrati
Log in
Benvenuti
Contatti
Spedizione
L’azienda
Guest book
Condizioni e Privacy
Catalogare
Tagliare, profilare
Componenti per motore
Officine meccaniche
Parti e componentistica per macchine varie
Forestali
Articoli elettrici
Articoli invernali
Cinghie trapezoidali e relative pulegge
Filters
PEZZI DI RICAMBIO
Sprocket Rims
Guide Bars
Chainsaw Chains
Search by Part Number
Diagrammi ed elenchi
Servizio
Determine Chain
Ricerca
DE
EN
FR
ES
IT
Versione mobile
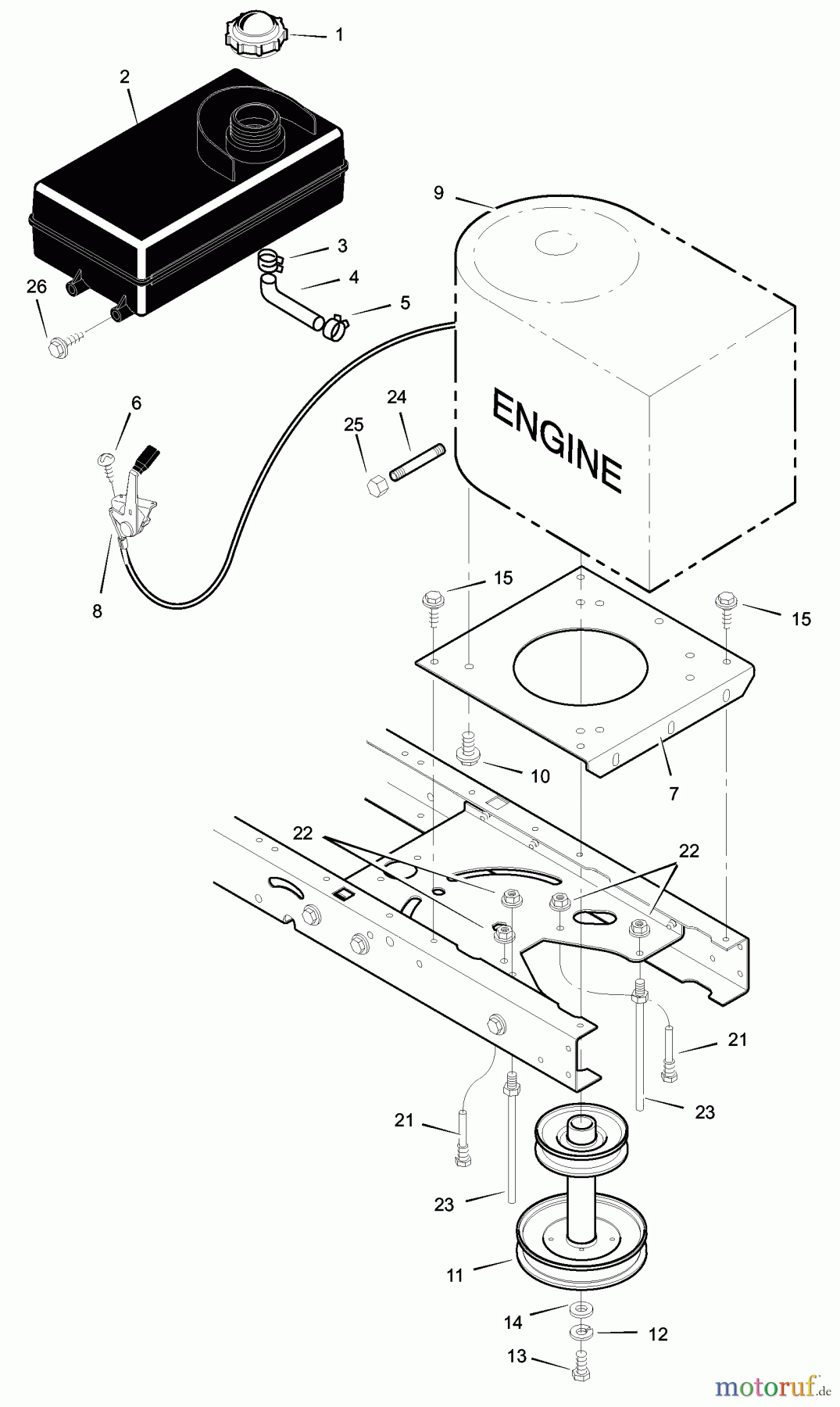
Murray 46577x4A - 46" Lawn Tractor (1999) Engine Mount Ricambi
Start
Murray
Rasen- und Gartentraktoren
46577x4A - Murray 46" Lawn Tractor (1999)
Engine Mount
Engine Mount 46577x4A - Murray 46" Lawn Tractor (1999)
Posizione
Articolo numero
Descrizione
1
BS092317MA
BENZINDECKEL
2
BS7601092MA
FUEL TANK KIT 1.4
3
BS095197MA
SCHLAUCHSCHELLE - GELB
4
BS023717
5
BS095197MA
SCHLAUCHSCHELLE - GELB
6
BS26X201MA
SCREW Z/BL CHROMATE
7
BS094006E701MA
PLATE, ENGINE
8
BS091989
9
BS
Eingangswelle UE 600
10
BS0025X7MA
MOTORBOLZEN 3/8 X 1.25
11
BS690441MA
02 STK PULLEY
12
BS019X35MA
WASHER.43-0.74 X.04 S
13
BS01X140MA
SECHSKANTBOLZEN.43-20X1.50 Z
14
BS17X170MA
WASHER.46.97.25 FLAT
15
BS26X249MA
SCREW-.312-18X.75
21
BS093349MA
FUHRUNGSSCHRAUBE - ZINK
22
BS015X79MA
NUT.31-18 FLANGELOCK
23
BS094384MA
GUIDE SCREW - YELLOW
24
BS024066
25
BS021651ZMA
PIPE CAP
26
BS26X253MA
SCREW-THREAD FORMING
Gestione della qualità
Aiutaci a migliorare il nostro sito. Informaci se trovi un errore.