.it
Benvenuti
Contatti
Spedizione
L’azienda
Guest book
Condizioni e Privacy
Catalogare
Tagliare, profilare
Componenti per motore
Officine meccaniche
Parti e componentistica per macchine varie
Forestali
Articoli elettrici
Articoli invernali
Cinghie trapezoidali e relative pulegge
Filters
PEZZI DI RICAMBIO
Sprocket Rims
Guide Bars
Chainsaw Chains
Search by Part Number
Diagrammi ed elenchi
Servizio
Determine Chain
Ricerca
Il mio account
Registrati
Log in
Settings
DE
EN
FR
ES
IT
Desktop
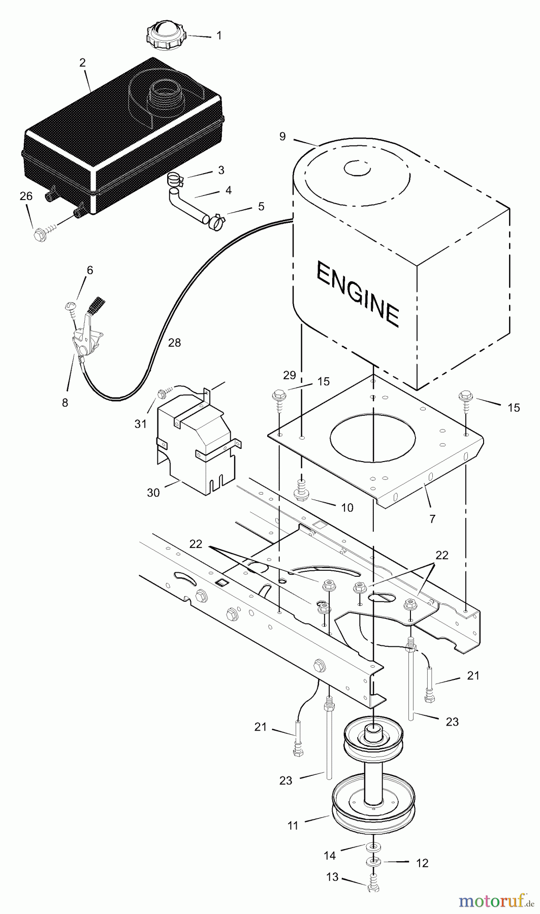
Murray 425003x8A - Scotts 42" Lawn Tractor (2000) (Home Depot) Engine Mount Ricambi
Start
Murray
Rasen- und Gartentraktoren
425003x8A - Scotts 42" Lawn Tractor (2000) (Home Depot)
Engine Mount
Engine Mount 425003x8A - Scotts 42" Lawn Tractor (2000) (Home Depot)
Posizione
Articolo numero
Descrizione
1
BS092317MA
BENZINDECKEL
2
BS7601092MA
FUEL TANK KIT 1.4
3
BS095197MA
SCHLAUCHSCHELLE - GELB
4
BS023717
5
BS095197MA
SCHLAUCHSCHELLE - GELB
6
BS26X201MA
SCREW Z/BL CHROMATE
7
BS094006E701MA
PLATE, ENGINE
8
BS091989
9
BS
Eingangswelle UE 600
--
BS690436MA
MUFFLER - B&S OHV NEL
--
BS692236
AUSPUFFDICHTUNG
--
BS095207MA
ADAP MUFFL OHV 695766
--
BS06X103MA
5/16-18 SOCKET HEAD
--
BS009X59MA
ANSATZBOLZEN 93927
--
BS092378MA
SCHRAUBENVERSCHLUSS 223016
10
BS0025X7MA
MOTORBOLZEN 3/8 X 1.25
11
BS690439MA
STK PULLEY 38-42 IN R
12
BS019X35MA
WASHER.43-0.74 X.04 S
13
BS01X140MA
SECHSKANTBOLZEN.43-20X1.50 Z
14
BS17X170MA
WASHER.46.97.25 FLAT
15
BS26X249MA
SCREW-.312-18X.75
21
BS093349MA
FUHRUNGSSCHRAUBE - ZINK
22
BS015X79MA
NUT.31-18 FLANGELOCK
23
BS094781MA
SCREW GUIDE
26
BS26X253MA
SCREW-THREAD FORMING
28
BS
Eingangswelle UE 600
29
BS
Eingangswelle UE 600
30
BS092550MA
HEAT SHIELD ASSY
31
BS26X263MA
SCREW.25-20 S-T
Gestione della qualità
Aiutaci a migliorare il nostro sito. Informaci se trovi un errore.