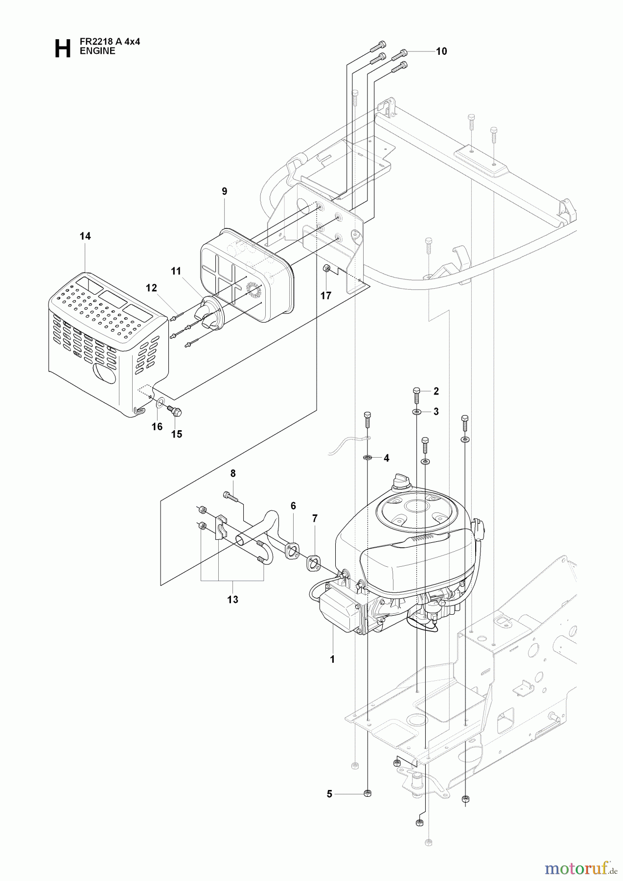
Jonsered FR2218 A 4X4 (966978601) - Rear-Engine Riding Mower (2009-02) ENGINE Ricambi
ENGINE FR2218 A 4X4 (966978601) - Jonsered Rear-Engine Riding Mower (2009-02)



Gestione della qualità
Aiutaci a migliorare il nostro sito. Informaci se trovi un errore.




