.it
Benvenuti
Contatti
Spedizione
L’azienda
Guest book
Condizioni e Privacy
Catalogare
Tagliare, profilare
Componenti per motore
Officine meccaniche
Parti e componentistica per macchine varie
Forestali
Articoli elettrici
Articoli invernali
Cinghie trapezoidali e relative pulegge
Filters
PEZZI DI RICAMBIO
Sprocket Rims
Guide Bars
Chainsaw Chains
Search by Part Number
Diagrammi ed elenchi
Servizio
Determine Chain
Ricerca
Il mio account
Registrati
Log in
Settings
DE
EN
FR
ES
IT
Desktop
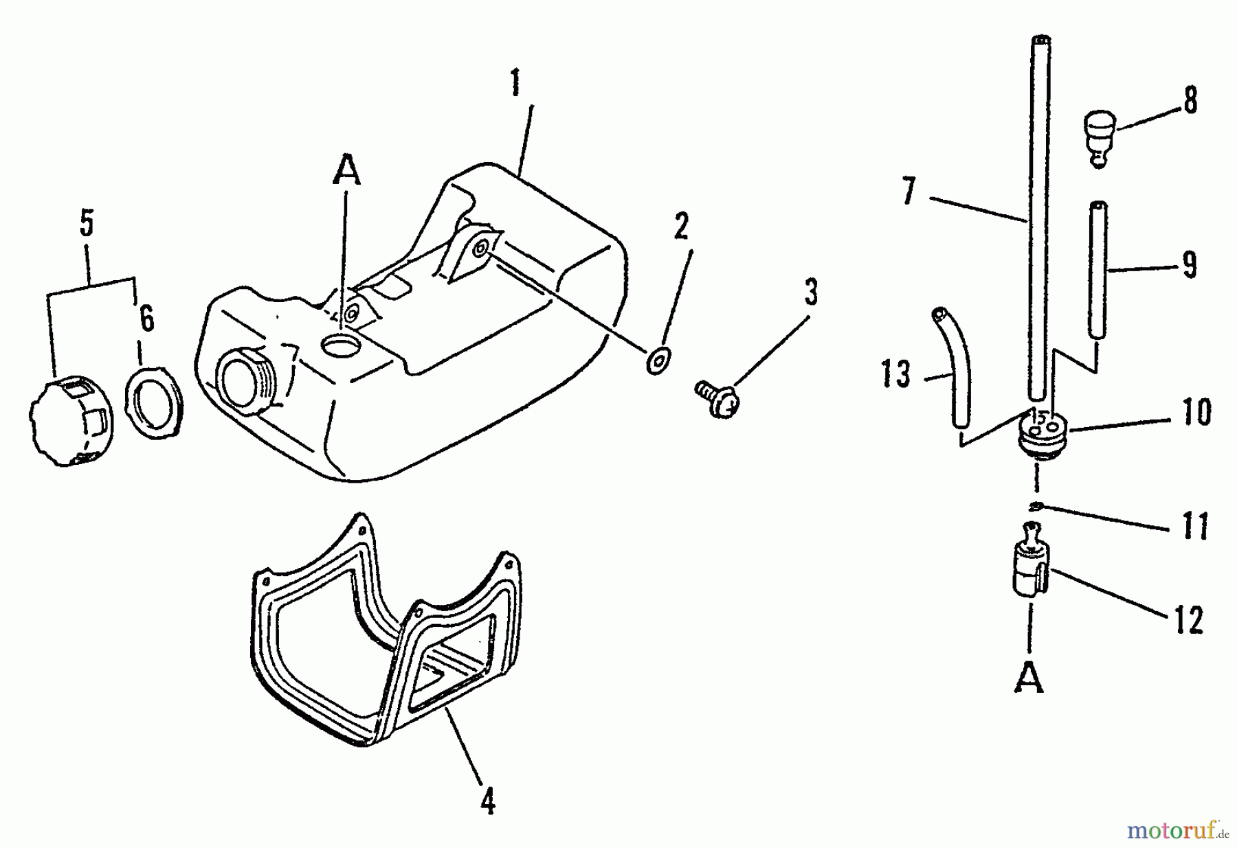
Echo GT-2103 - String Trimmer, S/N:031001 - 999999 Fuel System Ricambi
Start
Echo
Trimmer, Faden / Bürste
GT-2103 - Echo String Trimmer, S/N:031001 - 999999
Fuel System
Fuel System GT-2103 - Echo String Trimmer, S/N:031001 - 999999
Posizione
Articolo numero
Descrizione
1
16-131005-44330
Tank
2
16-900603-00005
Scheibe(Eisen) CS-2600/PB-250/
3
16-900220-05016
Schraube 5x16 (10), GT-2010
4
16-305110-42030
Abstellbock PP-600, HCA-2500,
5
16-131004-55830
Tankdeckel HC-1500, HC-2400,
6
16-131016-40930
Dichtung ES-2000, HC-2100,
7
16-V471-001190
Benzinleitung (Gummi) SRM-
8
16-131300-56430
Entlüftungsventil CS-3500-1/
9
16-V471-001200
Leitung(Gummi) CS-3000, CS-
10
16-132115-46730
Dichtring HC-1500/HCR-1500/
11
16-132013-09820
Clip CS-2600/-3700/SRM-250/GT-
12
16-131205-07321
Benzinfilter CS-3500/2600,SRM-
13
16-132012-56030
Benzinleitung EDR-2400/PPT-
Gestione della qualità
Aiutaci a migliorare il nostro sito. Informaci se trovi un errore.