.it
Carrello
vuoto
Il mio account
Registrati
Log in
Benvenuti
Contatti
Spedizione
L’azienda
Guest book
Condizioni e Privacy
Catalogare
Tagliare, profilare
Componenti per motore
Officine meccaniche
Parti e componentistica per macchine varie
Forestali
Articoli elettrici
Articoli invernali
Cinghie trapezoidali e relative pulegge
Filters
PEZZI DI RICAMBIO
Sprocket Rims
Guide Bars
Chainsaw Chains
Search by Part Number
Diagrammi ed elenchi
Servizio
Determine Chain
Ricerca
DE
EN
FR
ES
IT
Versione mobile
Echo GT-1100 - String Trimmer, S/N:098001 - 126000 Carburetor Ricambi
Start
Echo
Trimmer, Faden / Bürste
GT-1100 - Echo String Trimmer, S/N:098001 - 126000
Carburetor
Carburetor GT-1100 - Echo String Trimmer, S/N:098001 - 126000
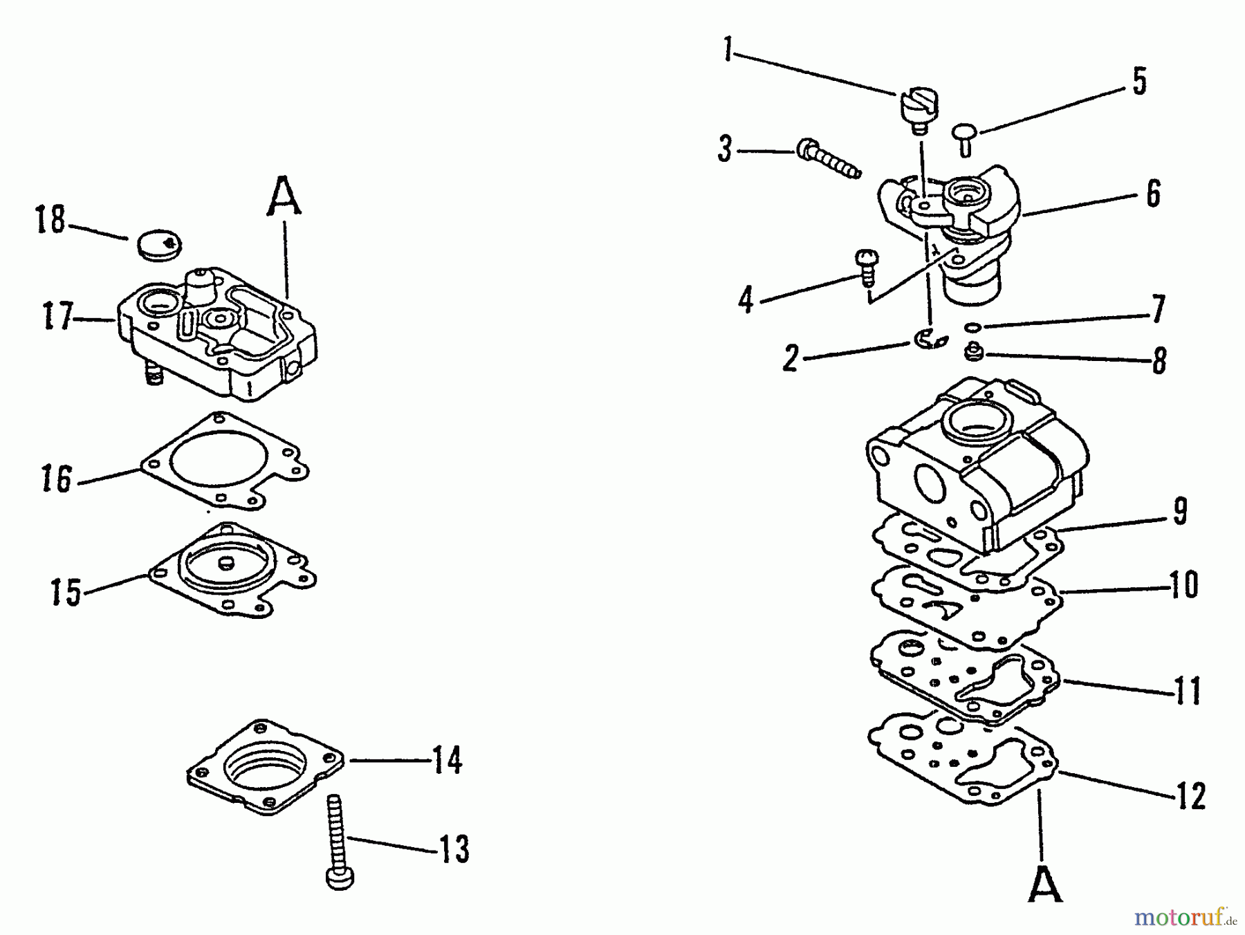
Posizione
Articolo numero
Descrizione
1699999999999
1
16-123172-45130
Führung, Gaszug DH2200ST/EA-
2
16-123173-07930
Clip DH2200ST/EA-410/PPT-300ES
3
16-123134-40030
Schraube EA-410
4
16-123114-44330
Schraube DH2200ST
5
16-123146-44330
Stift
6
1612311645130
7
16
16
8
16
16
9
16
16
10
16
16
11
16-123160-40630
Platte
12
16
16
13
16-123144-44330
Schraube EA-410
14
16-123142-03930
Deckel CS-2600/3700/SRM-320/
15
16
16
16
16
16
17
16
16
18
16
16
1612310044430
1612310144430
Gestione della qualità
Aiutaci a migliorare il nostro sito. Informaci se trovi un errore.