.it
Carrello
vuoto
Il mio account
Registrati
Log in
Benvenuti
Contatti
Spedizione
L’azienda
Guest book
Condizioni e Privacy
Catalogare
Tagliare, profilare
Componenti per motore
Officine meccaniche
Parti e componentistica per macchine varie
Forestali
Articoli elettrici
Articoli invernali
Cinghie trapezoidali e relative pulegge
Filters
PEZZI DI RICAMBIO
Sprocket Rims
Guide Bars
Chainsaw Chains
Search by Part Number
Diagrammi ed elenchi
Servizio
Determine Chain
Ricerca
DE
EN
FR
ES
IT
Versione mobile
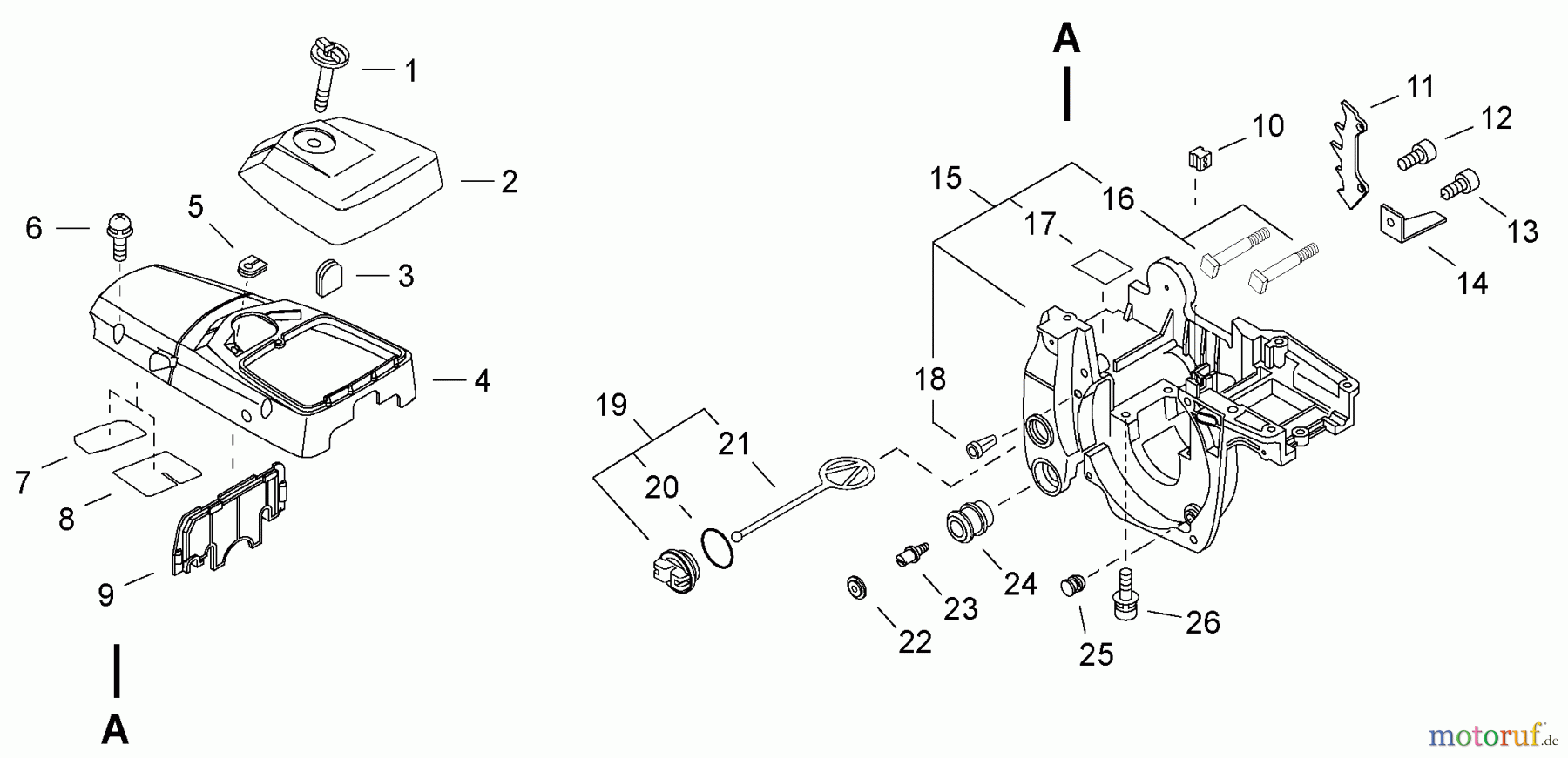
Echo CS-420ES - Chainsaw, S/N: 20001001 - 20999999 Engine Cover Ricambi
Start
Echo
Sägen, Kettensägen
CS-420ES - Echo Chainsaw, S/N: 20001001 - 20999999
Engine Cover
Engine Cover CS-420ES - Echo Chainsaw, S/N: 20001001 - 20999999
Posizione
Articolo numero
Descrizione
1
16-A235-000020
Rändelschraube, Luftfilter CS-
2
16-A232-000023
Luftfilterdeckel CS-510
3
16-130338-32430
Stopfen CS-3500,3700
4
16A160002290
5
16-V135-000010
Gummi CS-5100, 370ES, CS-510
6
16-900238-05020
Schraube 5x20
7
16-V341-000060
Platte, 363s
8
16-V341-000070
Platte, 363s
9
16-A209-000000
Flanschstück CS-370ES
10
16-150114-04920
Tülle
11
16-C304-000010
Kralle CS-370ES
12
16-91145-05020
Schraube CS-4200,4400,3700,
13
16-91145-05016
Schraube (10) CS-4200,5100,
14
16-C310-000000
Kettenfangbolzen CS-370ES, CS-
15
16P021009857
16
16-433011-19831
Schraube
17
16-V341-000050
Scheibe CS-370ES
18
16-436114-13930
Entlüftungsventil
19
16-P021-007630
ÖL-Benzintankdeckel CS-3000/
20
16-900721-00025
O-Ring CS-4200
21
16-A365-000050
Halter, Tankdeckel CS-3700ES/-
22
16-100918-15130
Abdeckung CS-2600
23
16-100915-33930
Schraube
24
16-100910-60030
Puffer CS-4200,3700
25
16-V420-001250
Puffer CS-370ES
26
16-900162-05030
Schraube CS-3500,-3501, SRM-
Gestione della qualità
Aiutaci a migliorare il nostro sito. Informaci se trovi un errore.