.it
Carrello
vuoto
Il mio account
Registrati
Log in
Benvenuti
Contatti
Spedizione
L’azienda
Guest book
Condizioni e Privacy
Catalogare
Tagliare, profilare
Componenti per motore
Officine meccaniche
Parti e componentistica per macchine varie
Forestali
Articoli elettrici
Articoli invernali
Cinghie trapezoidali e relative pulegge
Filters
PEZZI DI RICAMBIO
Sprocket Rims
Guide Bars
Chainsaw Chains
Search by Part Number
Diagrammi ed elenchi
Servizio
Determine Chain
Ricerca
DE
EN
FR
ES
IT
Versione mobile
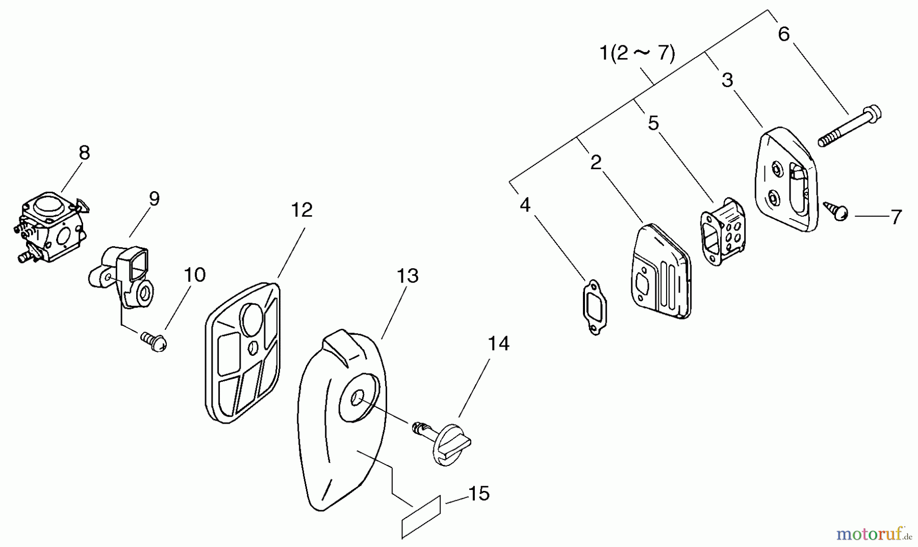
Echo CS-350TES - Chainsaw Air Cleaner, Carburetor, Muffler Ricambi
Start
Echo
Sägen, Kettensägen
CS-350TES - Echo Chainsaw
Air Cleaner, Carburetor, Muffler
Air Cleaner, Carburetor, Muffler CS-350TES - Echo Chainsaw
Posizione
Articolo numero
Descrizione
1
16-P021-009930
Auspuff Innenteil
2
16-A300-000370
Auspuff Außenteil CS-350T
3
16-A303-000041
Auspuffdeckel / CS-350T
4
16-145510-13931
Auspuffdichtung CS-2600
5
16-A301-000000
Auspuff Innenteil CS-2600
6
16-91107-05040
Schraube CS-2600
7
16-900250-04008
Schraube 4x8 (10), CS-3000,
8
16A021-001181
9
16-A204-000041
Vergasergelenk
10
16-900238-05050
Schraube 5 x 50 CS-2600
12
16A226-000291
13
16-A232-000160
Deckel, Luftfilter SRM-320/350
14
16-A235-000040
Halter CS-2600
15
16-X503-006190
Aufkleber, Modell CS-350TES
Gestione della qualità
Aiutaci a migliorare il nostro sito. Informaci se trovi un errore.