.it
Carrello
vuoto
Il mio account
Registrati
Log in
Benvenuti
Contatti
Spedizione
L’azienda
Guest book
Condizioni e Privacy
Catalogare
Tagliare, profilare
Componenti per motore
Officine meccaniche
Parti e componentistica per macchine varie
Forestali
Articoli elettrici
Articoli invernali
Cinghie trapezoidali e relative pulegge
Filters
PEZZI DI RICAMBIO
Sprocket Rims
Guide Bars
Chainsaw Chains
Search by Part Number
Diagrammi ed elenchi
Servizio
Determine Chain
Ricerca
DE
EN
FR
ES
IT
Versione mobile
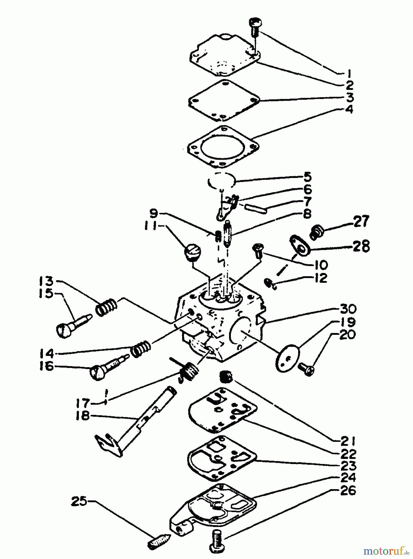
Echo CS-280E - Chainsaw, S/N: 0000001 - 0055489 Carburetor Ricambi
Start
Echo
Sägen, Kettensägen
CS-280E - Echo Chainsaw, S/N: 0000001 - 0055489
Carburetor
Carburetor CS-280E - Echo Chainsaw, S/N: 0000001 - 0055489
Posizione
Articolo numero
Descrizione
16-125200-13932
Vergaser
1
16-125344-13930
Schraube
2
1699999999999
3
16
16
4
16
16
5
16-125375-13930
Platte
6
16
16
7
16
16
8
16
16
9
16
16
10
16-125339-13930
Schraube
11
16-125376-13930
Düse
12
16-125327-13930
Clip
13
16-125319-13930
Feder
14
16-125319-13930
Feder
15
16-125320-13930
Einstellnadel
16
16-125318-13930
Einstellnadel
17
16-125313-13930
Feder Produktion eingestellt
18
16-125317-13931
Gestänge
19
16-125316-13930
Ventil
20
16
16
21
16
16
22
16
16
23
16
16
24
16-125324-13930
Deckel
25
16-125334-13930
Einstellschraube
26
16-125310-13930
Schraube
27
16-125348-13930
Schraube
28
16-125350-13931
Anschlag
1612530015130
16-125350-13930
Anschlag
30
16
16
Gestione della qualità
Aiutaci a migliorare il nostro sito. Informaci se trovi un errore.