.it
Carrello
vuoto
Il mio account
Registrati
Log in
Benvenuti
Contatti
Spedizione
L’azienda
Guest book
Condizioni e Privacy
Catalogare
Tagliare, profilare
Componenti per motore
Officine meccaniche
Parti e componentistica per macchine varie
Forestali
Articoli elettrici
Articoli invernali
Cinghie trapezoidali e relative pulegge
Filters
PEZZI DI RICAMBIO
Sprocket Rims
Guide Bars
Chainsaw Chains
Search by Part Number
Diagrammi ed elenchi
Servizio
Determine Chain
Ricerca
DE
EN
FR
ES
IT
Versione mobile
Echo HC-2400 - Hedge Trimmer (Type 2E) Gear Case, Blades, Tools Ricambi
Start
Echo
Heckenscheren
HC-2400 - Echo Hedge Trimmer (Type 2E)
Gear Case, Blades, Tools
Gear Case, Blades, Tools HC-2400 - Echo Hedge Trimmer (Type 2E)
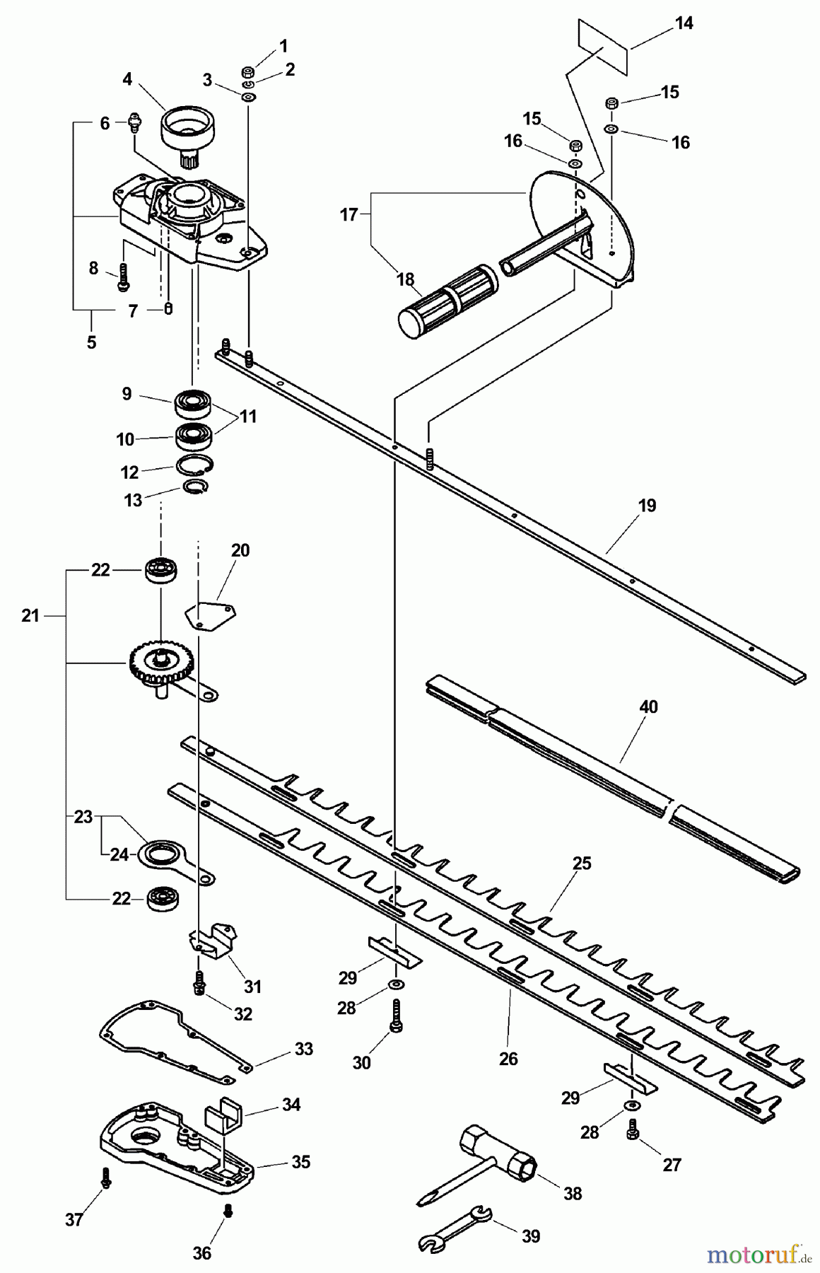
Posizione
Articolo numero
Descrizione
1
16-900500-00006
Mutter HC-2400, HCR-1500, PB-
2
16-900605-00006
Scheibe SHR-150SI/-170SI
3
16-900600-00006
Scheibe
4
16-175005-08960
Kupplungstrommel
4
16-175003-01261
Kupplungstrommel(incl.Circlip)
5
1661040608960
5
1661040708962
6
16-880110-10860
Schmiernippel M6 HCA-2410,
7
16-V622-000020
Stift
8
16-900162-05030
Schraube CS-3500,-3501, SRM-
9
1690085606904
9
16-900857-06904
Kugellager
10
16-900855-06904
Kugellager
11
16-900802-06003
Kugellager
12
16-900702-00037
Seegerring, innen, 37mm (10)
12
16-900702-00035
Seegerring, innen, 35mm
13
16-900701-00019
Seegerring außen 19mm (10) HC-
13
16-900701-00016
Seegering
14
1689022809560
14
16X505000270
14
1689031705160
15
16-433022-06460
Sicherungsmutter M6*1
16
16-900603-00006
U-Scheibe HC-2400, PB-46LN,
17
16-351200-02060
Vorderer Griff kpl. HC-2100
18
16-351012-01260
Griff HC-2100
19
16-X425-000100
Messerhalter HC-2410, HC-2400
20
1699999999999
20
16-610440-08960
Messersicherung HC-2410
21
16-610302-08961
Getriebesatz HC-2400
21
16-610302-09661
Getriebesatz HC-2400, HC-2410
22
16-900810-06200
Kugellager
23
16-610307-01261
Antrieb mit Lager HC-2300 /
24
16-610327-01261
Nadellager HC-2300, HC-2410,
25
16X411000180
25
16-X411-000080
Messer, oben HC-2400
26
16X411000190
26
16-X411-000090
Messer, unten HC-2400
27
16-699115-02062
Schraube
28
16-699118-01261
Scheibe 15,5x7,8x1,7 mm
29
16-699213-02063
Messerführungsblech 7,5MM
30
16-351027-02060
Bolzen HC-2300/2400/2410, HC-
31
16-610441-02060
Schutz
31
16-610441-08960
Messersicherung HC-2410
32
16-900162-05014
Schraube M 5x14
33
16-610414-01260
Dichtung, Gummi
34
16-610426-01260
Filzdichtung
35
16-610431-08961
Getriebedeckel HC-2410/2400
36
16-900242-04014
Schraube 4x14(Eisen)
37
16-900242-04022
Schraube CS-3500
38
16-895410-06960
Kombischlüssel
39
16-895112-00330
Gabelschlüssel PPT-300ES
40
16-898523-02961
Transportschutz HC-30ES / 2300
168890008560
Gestione della qualità
Aiutaci a migliorare il nostro sito. Informaci se trovi un errore.