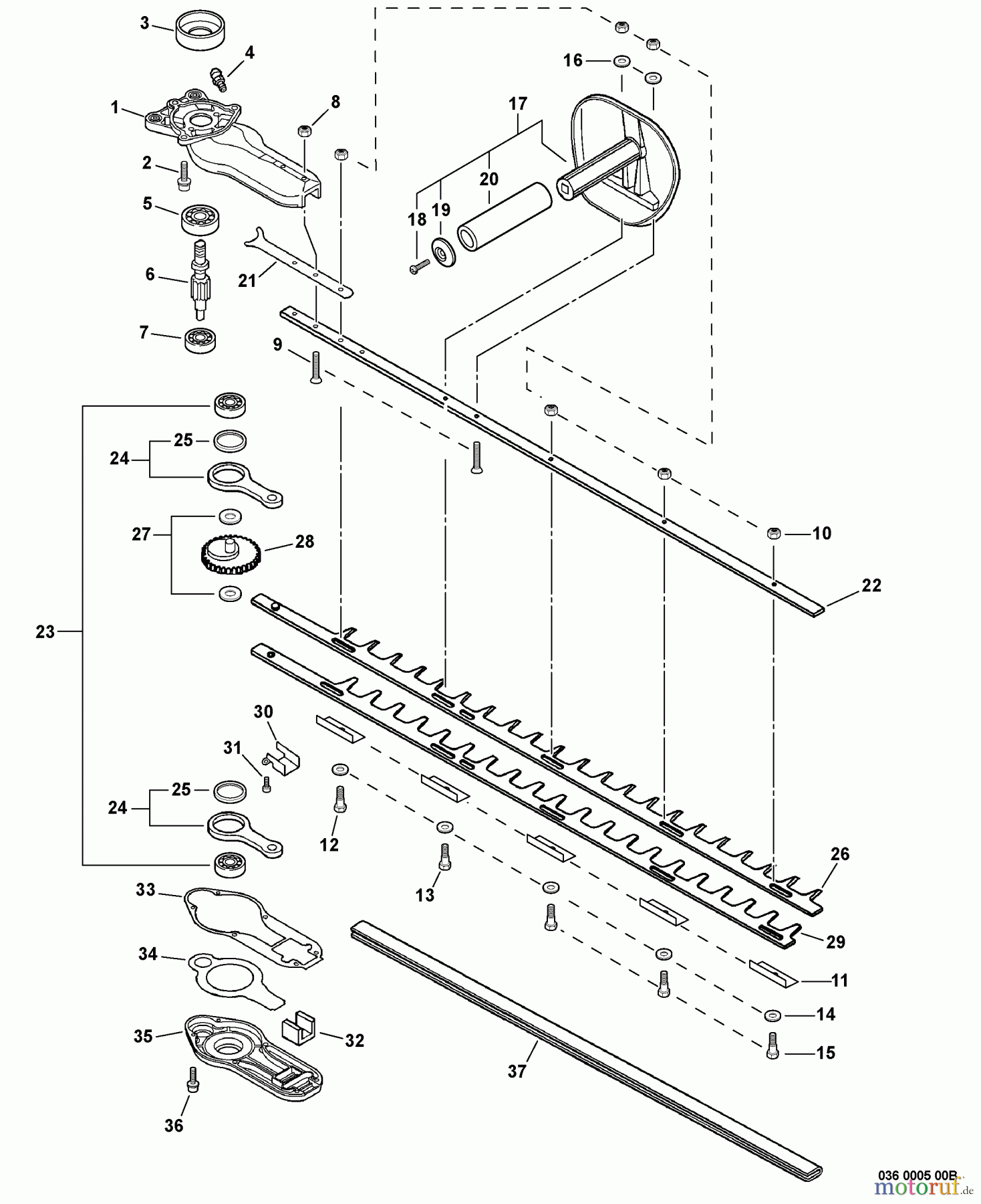
Echo HC-235 - Hedge Trimmer, S/N: S72312001001 - S72312999999 Gear Case, Blades, Front Handle Ricambi
Gear Case, Blades, Front Handle HC-235 - Echo Hedge Trimmer, S/N: S72312001001 - S72312999999



Gestione della qualità
Aiutaci a migliorare il nostro sito. Informaci se trovi un errore.

