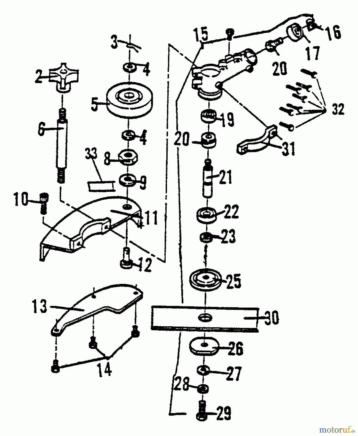
Echo PE-2201 - Edger Gear Case, Blade, Shield Ricambi
Gear Case, Blade, Shield PE-2201 - Echo Edger

| Posizione | Articolo numero | Descrizione | |
| 2 | 16720285204 | ||
| 3 | 1699999999999 | ||
| 4 | 16720236908 | ||
| 5 | 16720235101 | ||
| 6 | 16720236707 | ||
| 8 | 16720051017 | ||
| 9 | 16720041007 | ||
| 10 | 16720237604 | ||
| 11 | 1699944452630 | ||
| 12 | 16720237611 | ||
| 13 | 16720236919 | ||
| 14 | 16720011310 | ||
| 15 | 16720270303 | ||
| 16 | 16720060020 | ||
| 17 | 16-900808-06001 | Kugellager RMA-2530, SRM-310E | |
| 19 | 16-900804-00608 | Kugellager 608 HC-30ES/ | |
| 20 | 1699944452631 | ||
| 21 | 16720226706 | ||
| 22 | 16-900803-00609 | Kugellager | |
| 23 | 16720226705 | ||
| 25 | 16720300070 | ||
| 26 | 16720300075 | ||
| 27 | 16-900602-00008 | Scheibe 8 (50) | |
| 28 | 16-900611-00008 | Scheibe | |
| 29 | 16720300080 | ||
| 30 | 16720237001 | ||
| 31 | 16720236110 | ||
| 32 | 16720011309 | ||
| 33 | 1689011748030 | ||


