.it
Carrello
vuoto
Il mio account
Registrati
Log in
Benvenuti
Contatti
Spedizione
L’azienda
Guest book
Condizioni e Privacy
Catalogare
Tagliare, profilare
Componenti per motore
Officine meccaniche
Parti e componentistica per macchine varie
Forestali
Articoli elettrici
Articoli invernali
Cinghie trapezoidali e relative pulegge
Filters
PEZZI DI RICAMBIO
Sprocket Rims
Guide Bars
Chainsaw Chains
Search by Part Number
Diagrammi ed elenchi
Servizio
Determine Chain
Ricerca
DE
EN
FR
ES
IT
Versione mobile
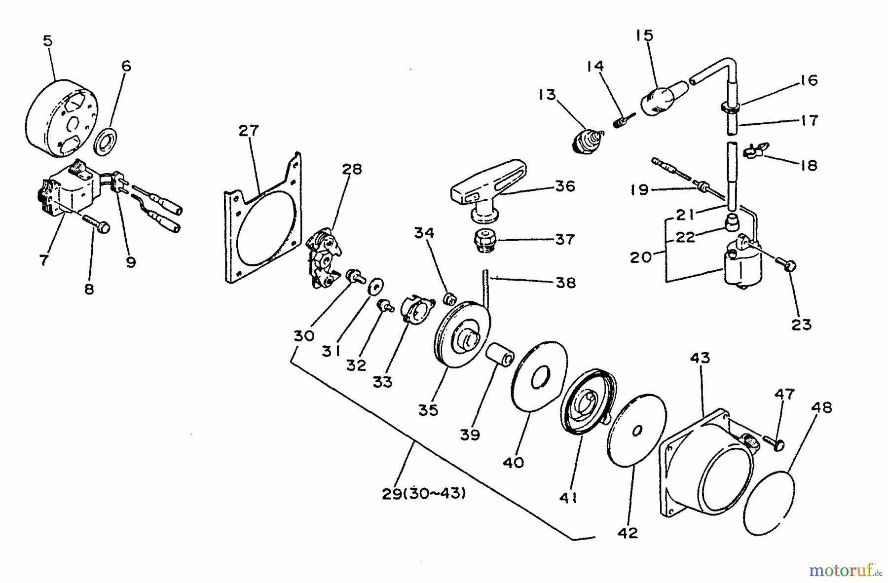
Echo PB-4500 - Back Pack Blower, S/N 0000000 - 0034075 Ignition, Starter Ricambi
Start
Echo
Bläser / Sauger / Häcksler / Mulchgeräte
PB-4500 - Echo Back Pack Blower, S/N 0000000 - 0034075
Ignition, Starter
Ignition, Starter PB-4500 - Echo Back Pack Blower, S/N 0000000 - 0034075
Posizione
Articolo numero
Descrizione
5
1615680003461
6
16-100135-03460
Scheibe PB-300E Produktion
7
1699999999999
8
16-900242-04020
Schraube
9
16-156114-03360
Buchse
13
16-159010-10630
Zündkerze
14
16-159011-03432
Kontaktfeder CS-2600/4200/PB-
15
16-159012-03433
Zündkerzenkappe, Gummi PPT-
16
16-156612-03460
Buchse PB-300E Produktion
17
16-156611-04260
Tülle ES-2000, ES-2400, PB-
18
16-159110-04260
Clip Produktion eingestellt
19
16-151112-04630
Buchse CS-3700, PB-500
20
16-156602-04260
Zsb. Zündspule
21
16-156631-04260
Leitung
22
16-156632-03460
Abdeckung PB-300E Produktion
23
16-900242-04014
Schraube 4x14(Eisen)
27
16-104213-04260
Träger
28
16-177307-04260
Starterklinke
29
1617720007560
30
16-900242-05010
Schraube PPT-300ES
31
16-177214-02830
Scheibe CS-4200/4400/5100/8000
32
16-900242-04008
Schraube
33
16-177243-04130
Klaue
34
16-177246-03930
Hülse
35
16-177215-03930
Seilscheibe
36
16-177228-19830
Startergriff CS-4500, RM-385
37
16-177227-05020
Seilführung
38
16-177226-03930
Starterseil CS-4500/4601/
39
16-177216-12330
Passhülse CS-8001, RM-385,
40
16-177242-06721
Kunststoffplatte RM-380, RM-
41
16-177220-03930
Starterfeder CS-400EVL/4500,
42
16-177221-06720
Platte RM-380/385, SRM-310E
43
16-177209-04260
Startergehäuse Produktion
47
16-900242-04016
Schraube SHR-170SI
48
1689011817830
Gestione della qualità
Aiutaci a migliorare il nostro sito. Informaci se trovi un errore.