.it
Carrello
vuoto
Il mio account
Registrati
Log in
Benvenuti
Contatti
Spedizione
L’azienda
Guest book
Condizioni e Privacy
Catalogare
Tagliare, profilare
Componenti per motore
Officine meccaniche
Parti e componentistica per macchine varie
Forestali
Articoli elettrici
Articoli invernali
Cinghie trapezoidali e relative pulegge
Filters
PEZZI DI RICAMBIO
Sprocket Rims
Guide Bars
Chainsaw Chains
Search by Part Number
Diagrammi ed elenchi
Servizio
Determine Chain
Ricerca
DE
EN
FR
ES
IT
Versione mobile
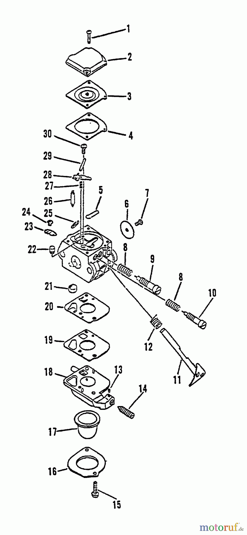
Echo ES-1000 - Shredder/Vacuum, S/N: 025417 - 999999 Carburetor Ricambi
Start
Echo
Bläser / Sauger / Häcksler / Mulchgeräte
ES-1000 - Echo Shredder/Vacuum, S/N: 025417 - 999999
Carburetor
Carburetor ES-1000 - Echo Shredder/Vacuum, S/N: 025417 - 999999
Posizione
Articolo numero
Descrizione
1699999999999
1
16-125344-13931
Schraube SHR-170SI
2
16-125342-13210
Deckel, Membrane
3
16
16
4
16
16
5
16
16
6
16-125316-42030
Ventil
7
16-125314-13930
Schraube
8
16-125319-42030
Feder ES-2100, HC-2100, PB-
9
16-125320-07260
Einstellnadel
10
16-125318-51330
Einstellschraube SRM-3550
11
16-125317-05060
Gestänge
12
16-125313-42030
Feder ES-2000,HC-2100,PP-600,
13
16-125378-13930
Hülse
14
16-125334-06860
Standgasschraube
15
16-125310-11610
Schraube
16
16-125363-11610
Ring
17
16-125381-08660
Pumpengummi SRM-2450/PB-2455/
18
16-125324-11610
Deckel
19
16
16
20
16
16
21
16
16
22
16-125376-06360
Ventilstopfen Produktion
23
16-125350-05060
Hebel ES-1000, ES-2000
24
16-125348-13930
Schraube
25
16-125327-13930
Clip
26
16
16
27
16
16
28
16
16
29
16
16
30
16-125339-42030
Schraube SHR-170SI
16-125300-42030
Vergaser Reparatursatz mit
16-125303-42030
Vergaserdichtsatz SRM-2010/ES-
Gestione della qualità
Aiutaci a migliorare il nostro sito. Informaci se trovi un errore.