.it
Carrello
vuoto
Il mio account
Registrati
Log in
Benvenuti
Contatti
Spedizione
L’azienda
Guest book
Condizioni e Privacy
Catalogare
Tagliare, profilare
Componenti per motore
Officine meccaniche
Parti e componentistica per macchine varie
Forestali
Articoli elettrici
Articoli invernali
Cinghie trapezoidali e relative pulegge
Filters
PEZZI DI RICAMBIO
Sprocket Rims
Guide Bars
Chainsaw Chains
Search by Part Number
Diagrammi ed elenchi
Servizio
Determine Chain
Ricerca
DE
EN
FR
ES
IT
Versione mobile
Echo 99944200005 - i-Start Kit 99944200005 i-Start Kit Ricambi
Start
Echo
Zubehör
99944200005 - Echo i-Start Kit
99944200005 i-Start Kit
99944200005 i-Start Kit 99944200005 - Echo i-Start Kit
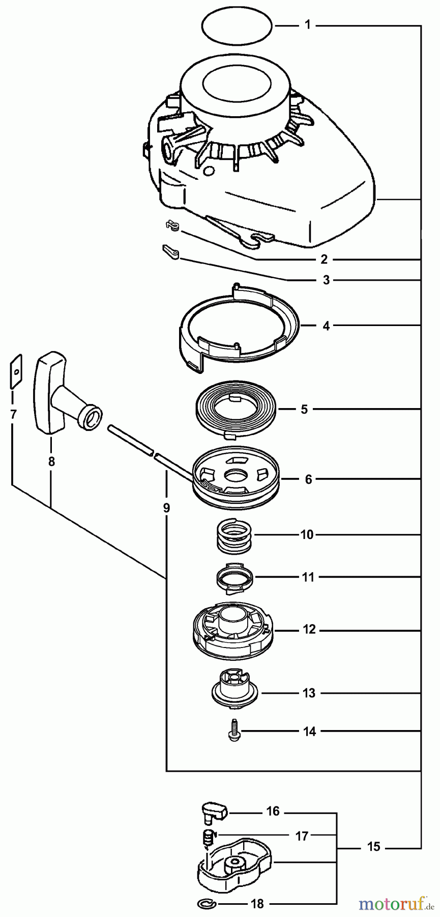
Posizione
Articolo numero
Descrizione
1
1689013521760
2
16-P022-004610
Feder RM-4000/SRM-2015SI, SRM-
3
16-P022-004620
Führung, Starter RM-4000, SRM-
4
16-P022-006500
Startergehäuse HCR-1500SI
5
16-P022-004680
StarterfederPB-6000 ab S.-Nr.:
6
16-P022-004690
Seiltrommel RM-4000, SRM-
7
16-P022-004600
Starterseil RM-4000, SRM-
8
16P022004990
9
16-177246-11120
Abdeckung, Starter Knopf CS-
10
16-P022-004660
Feder, Starter RM-4000, SRM-
11
16-P022-004670
Führung, Starter RM-4000, SRM-
12
16-P022-004700
Feder kompl. SRM-2655SI, PB-
13
16-P022-004640
Antriebsplatte SRM-2655SI/
14
16-P022-004630
Schraube, Starter RM-4000,
15
16-A052-000150
Starterklinke kompl. HCR-
16
16-P022-004740
Halter SRM-2455SI
17
16-177234-12220
Feder, Starterklinke RM-4000/
18
16-P022-002100
E-Ring DH-2200/PB-500/EA-410/
Gestione della qualità
Aiutaci a migliorare il nostro sito. Informaci se trovi un errore.