di nuovo a
>
Forbici a batteria
>
Accu
>
Accu 45 Classic
>
Testa rotante, lama, motore
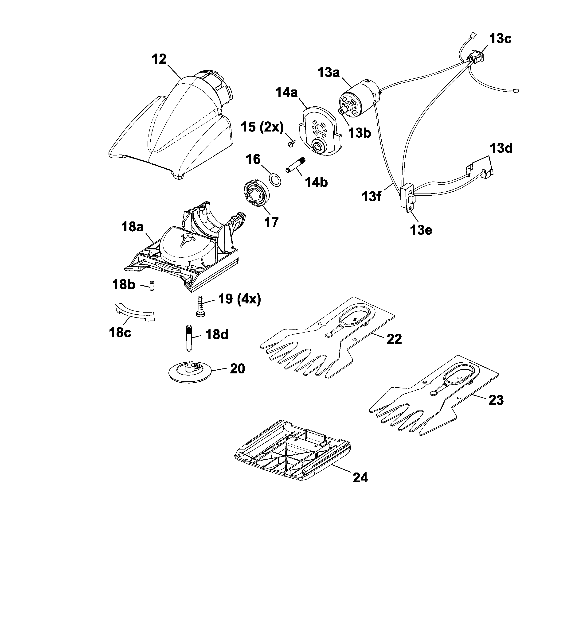
Liste dei pezzi di ricambio per Wolf Forbici a batteria Testa rotante, lama, motore
pos.
descrizione
NĂºmero de pieza
12
cover
7086 330
***
Motore completo
7084 026
***
Piastra portamotore completa
7086 910
15
Vite a testa cilindrica
0012 229
16
Rosetta
0017 042
17
Ingranaggio diritto
7086 313
18c
Listello di tenuta
7086 318
***
Carter di cambio completo
7086 911
19
Vite
0012 625
20
Corona conica
7086 312
22
Lama di forbice
7085 095
23
Lama di forbice
7084 095
24
Pattino
7086 311
***
Caricabatteria
7086 076
***
Istruzioni per l'uso
0054 444
Wolf
Attrezzi manuali
Tagliasiepi
Cesoie universali
Forbici per erba manuali
Cesoie per rami
Svettatoi
Cura degli alberi
Sistemi d'illuminazione
Forbici a batteria
Accu
Accu 45
Accu 60
Accu 75
Accu BS 60
Accu BS 45
Accu 45
Accu 45 Classic
Accu 60
Accu 60 Comfort
Accu 75
Accu 75 Professional
Accu BS 60
Accu BS 60 Comfort
Accu BS 60
Accu BS 45
Accu 40 Standard
Accu 30
Accu 40
Accu BS 45
Accu BS 50
Accu 45
Accu 45 Classic
Foglio di dati
Scatola, interruttore, ruote
Testa rotante, lama, motore
AC-TS Manico telescopico
Accu 45
Accu 60
Accu 60 Comfort
Accu 75
Accu 75 Professional
Accu BS 60
Accu BS 60 Comfort
Accu BS 60
Accu BS 60 Comfort
Accu BS 60
Accu 60
Accu 60
Accu 60
Accu 80
Accu 80
Accu 100
Accu 100
Accu BS 80
SP / SB
Biotrituratori
Segacci
Rotofalci
Tosaerba elicoidali
Carrello spandiconcime / Portax
Carrelli avvolgitubo
Scarificatori / Arieggiatori
Tosaerba
Ride-On
Motori a benzina
Accessori
Condizioni generali di contratto
(C) by motoruf