di nuovo a
>
Tosaerba
>
Benzina
>
Avviatore oltre 43 cm
>
Power Edition
>
Power Edition 46 KA
>
FJ 180 V
>
Regolazione
Liste dei pezzi di ricambio per Wolf Tosaerba Regolazione
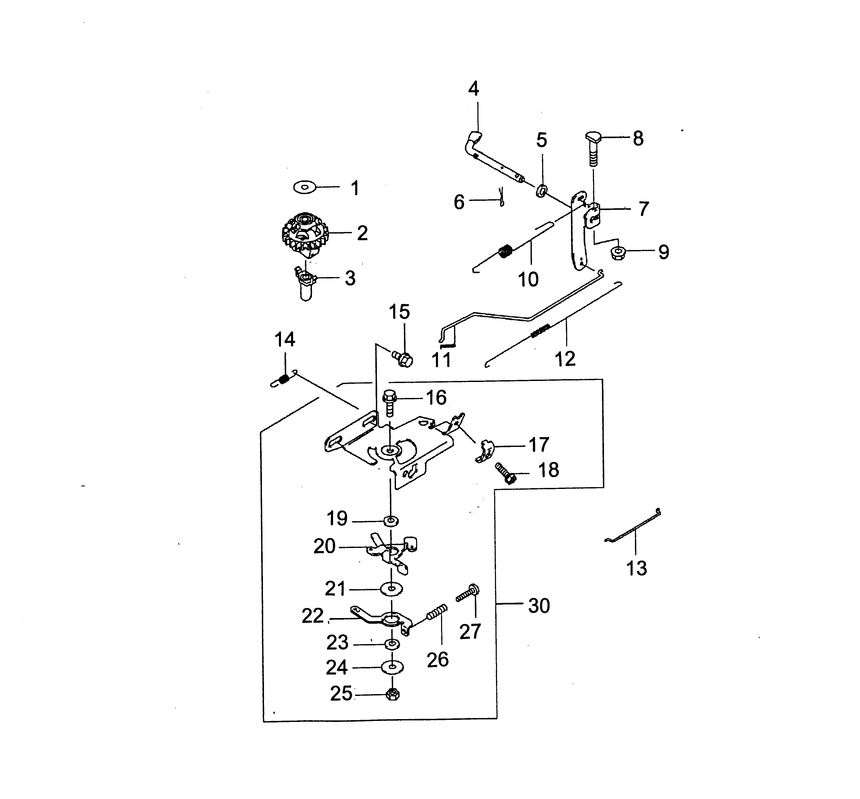
pos.
descrizione
NĂºmero de pieza
1
Rosetta
2094 166
2
Dentatura di regolatore
2094 165
3
Bobina di regolatore
2096 545
4
Leva del regolatore
2094 161
5
Rosetta
2095 338
6
Cavicchia
2090 337
7
Supporto di regolatore
2094 164
8
Vite
2090 333
9
Dado
2095 602
10
Molla di massimo
2094 162
11
Tiranteria di regolatore
2094 212
12
Molla di rallento
2094 167
13
Tiranteria
2094 159
14
Molla
2094 168
15
Vite
2090 116
16
Vite
2094 156
17
Attacco
2096 569
18
Vite
2096 580
19
Manicotto
2090 325
20
Leva
2094 157
21
Rosetta
2096 205
22
Leva
2094 158
23
Manicotto
2090 325
24
Rosetta
2096 205
25
Dado
2096 561
26
Molla
2095 323
27
Vite
2090 324
30
Piastra di regolatore completa
2094 163
Wolf
Attrezzi manuali
Tagliasiepi
Cesoie universali
Forbici per erba manuali
Cesoie per rami
Svettatoi
Cura degli alberi
Sistemi d'illuminazione
Forbici a batteria
Biotrituratori
Segacci
Rotofalci
Tosaerba elicoidali
Carrello spandiconcime / Portax
Carrelli avvolgitubo
Scarificatori / Arieggiatori
Tosaerba
Accu
Benzina
Spinta fino 42 cm
Spinta oltre 43 cm
Avviatore fino 42 cm
Avviatore oltre 43 cm
series 2
series 4
series 6
Moto-Verte
Concept
Premio
Power Edition
Power Edition 46 HA
Power Edition 46 HA
Power Edition 46 HA
Power Edition 46 TMA
Power Edition 46 KA
Foglio di dati
Chassis
Asse, ruote, regolazione altezza
Impugnatura cpl.
Motore, lama
grass collector
MK 40 (4011 075) Kit per mulching (Kit per mulching)
FJ 180 V
Basamento
Pistone, albero a gomiti, valvole,
Carburatore
Regolazione
Serbatoio, copertura della ventola,
Filtro dell'aria, silenziatore, freno,
Accensione, starter
Esprit
Varia
Elettrostart / Touch&Mow
Elettrici
Ride-On
Motori a benzina
Accessori
Condizioni generali di contratto
(C) by motoruf