di nuovo a
>
Tosaerba
>
Benzina
>
Spinta fino 42 cm
>
series 2
>
2.40 H
>
Motor Honda GCV 135
>
Regolazione
Liste dei pezzi di ricambio per Wolf Tosaerba Regolazione
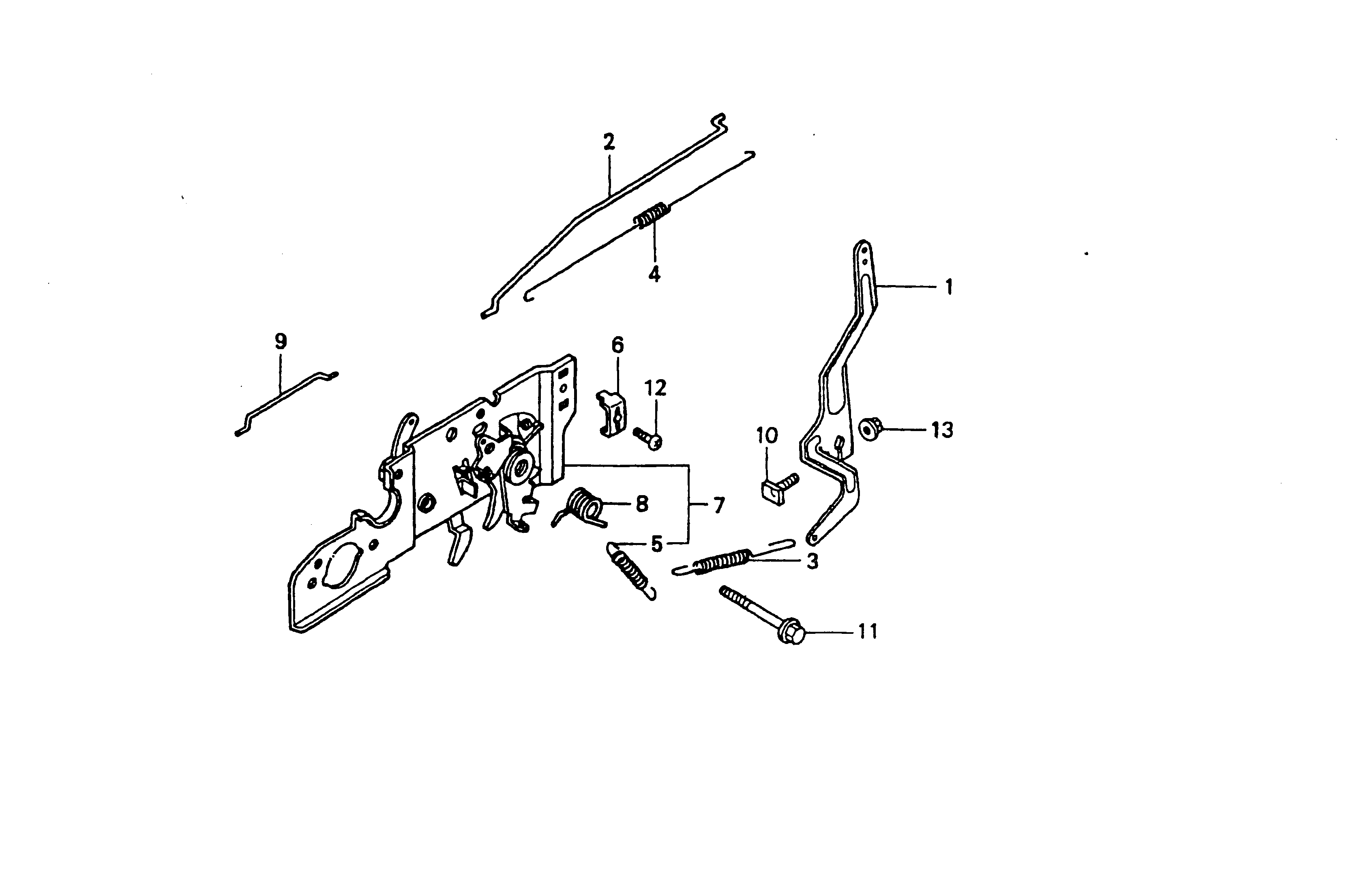
pos.
descrizione
NĂºmero de pieza
1
Braccio di regolatore
2098 512
2
Asta di regolatore
2098 605
3
Molla di trazione
2098 606
4
Molla di trazione
2098 607
5
Molla di trazione
2098 189
6
Morsa per cavo
2098 520
7
Piastra di base completa
2098 608
8
Molla
2098 584
9
Asta di farfalla
2098 589
10
Vite
2098 181
11
Vite
2098 590
12
Vite
2098 575
13
Dado
2098 581
Wolf
Attrezzi manuali
Tagliasiepi
Cesoie universali
Forbici per erba manuali
Cesoie per rami
Svettatoi
Cura degli alberi
Sistemi d'illuminazione
Forbici a batteria
Biotrituratori
Segacci
Rotofalci
Tosaerba elicoidali
Carrello spandiconcime / Portax
Carrelli avvolgitubo
Scarificatori / Arieggiatori
Tosaerba
Accu
Benzina
Spinta fino 42 cm
series 2
2.42 T
2.42 TL
2.42 B
2.42 T
2.42 TL
2.42 TLK
2.42 BS
2.42 TV
2.42 TP
2.40 BQ
2.40 BS
2.40 H
Foglio di dati
Chassis
Asse, ruote, regolazione altezza
Impugnatura cpl.
Motore, lama
Cesto raccoglierba Esprit
GCV 135 N1S
Motor Honda GCV 135
Cilindro
Coppa dell'olio
Albero a gomiti, pistone
Valvole
Regolazione
Carburatore
Indotto, bobina di accensione, freno
Serbatoio per carburante
Filtro dell'aria, silenziatore
Copertura, starter
2.40 BC
2.38 TV
2.40 BS
2.40 H
2.40 BC
2.42 B, Good-Line
2.40 B
2.40 BT
series 4
series 6
Premio
Power Edition
Esprit
Moto-Verte
Varia
Compact Plus
Spinta oltre 43 cm
Avviatore fino 42 cm
Avviatore oltre 43 cm
Elettrostart / Touch&Mow
Elettrici
Ride-On
Motori a benzina
Accessori
Condizioni generali di contratto
(C) by motoruf