di nuovo a
>
Ride-On
>
Trac
>
OHV 6
>
Trac OHV 6
>
Motore
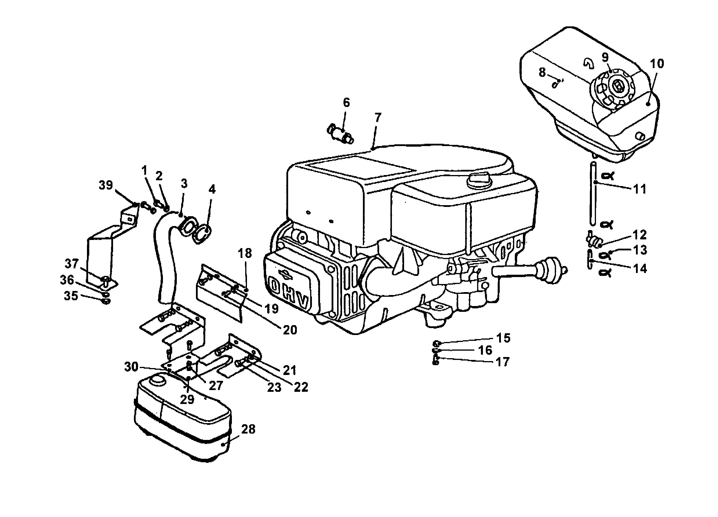
Liste dei pezzi di ricambio per Wolf Ride-On Motore
pos.
descrizione
NĂºmero de pieza
1
Vite
6205 123
2
Rondella grover
0017 909
3
Tubo di scarico
6200 552
4
Guarnizione per scarico per 15,5 CV
6200 351
6
Rubinetto di scarico dell'olio
6205 049
7
Motore
1001 000
8
Attacco
6205 107
9
Tappo per serbatoio di carburante
6205 323
10
Serbatoio per carburante
6205 315
11
Tubo per carburante
6200 335
12
Rubinetto di serbatoio
6205 143
13
Fermo per tubo per carburante
6205 142
14
Tubo per carburante
6200 345
15
Dado esagonale
0016 312
16
Rosetta
0017 123
17
Vite esagonale
6205 569
17
Vite esagonale
6205 581
18
Rivestimento anteriore
6200 101
19
Rondella
6205 567
20
Vite autofilettante
6205 548
21
Rosetta
0017 123
22
Rondella grover
0017 909
23
Vite a testa esagonale
0010 402
27
Vite autofilettante
6205 548
28
Silenziatore
6200 350
29
Scudo termico sinistra
6205 486
30
Scudo termico destra
6205 487
35
Dado
0016 211
36
Rondella grover
0017 908
37
Screw
0010 400
39
Rivestimento per collettore
6200 102
*1
Serbatoio per carburante con tappo
6205 034
Wolf
Attrezzi manuali
Tagliasiepi
Cesoie universali
Forbici per erba manuali
Cesoie per rami
Svettatoi
Cura degli alberi
Sistemi d'illuminazione
Forbici a batteria
Biotrituratori
Segacci
Rotofalci
Tosaerba elicoidali
Carrello spandiconcime / Portax
Carrelli avvolgitubo
Scarificatori / Arieggiatori
Tosaerba
Ride-On
Scooter
Cart
Trac
OHV 6
Trac OHV 6
Foglio di dati
Motore
Assale anteriore
Sterzo
Avviatore, cambio
Elementi di comando, regolazione altezza
Elementi di comando, freno
Elementi di comando, manovra
Gruppo di tosa
Cinghia, demoltiplicazione gruppo di tosa
Canale d'espulsione, dispositivo di raccolta
Dispositivo di raccolta
Chassis, seggiolino
Cofano motore
Fascio di cablaggio
Interruttori elettrici1
Interruttori elettrici2
Etichette
Cambio 1
Cambio 2
Diamond I/C OHV
Trac OHV 6
Trac OHV 6
OHV 7
Cambio
Motori a benzina
Accessori
Condizioni generali di contratto
(C) by motoruf