di nuovo a
>
Tosaerba
>
Benzina
>
Avviatore oltre 43 cm
>
Varia
>
B 46 TBA
>
Motore, lama
Liste dei pezzi di ricambio per Wolf Tosaerba Motore, lama
pos.
descrizione
NĂºmero de pieza
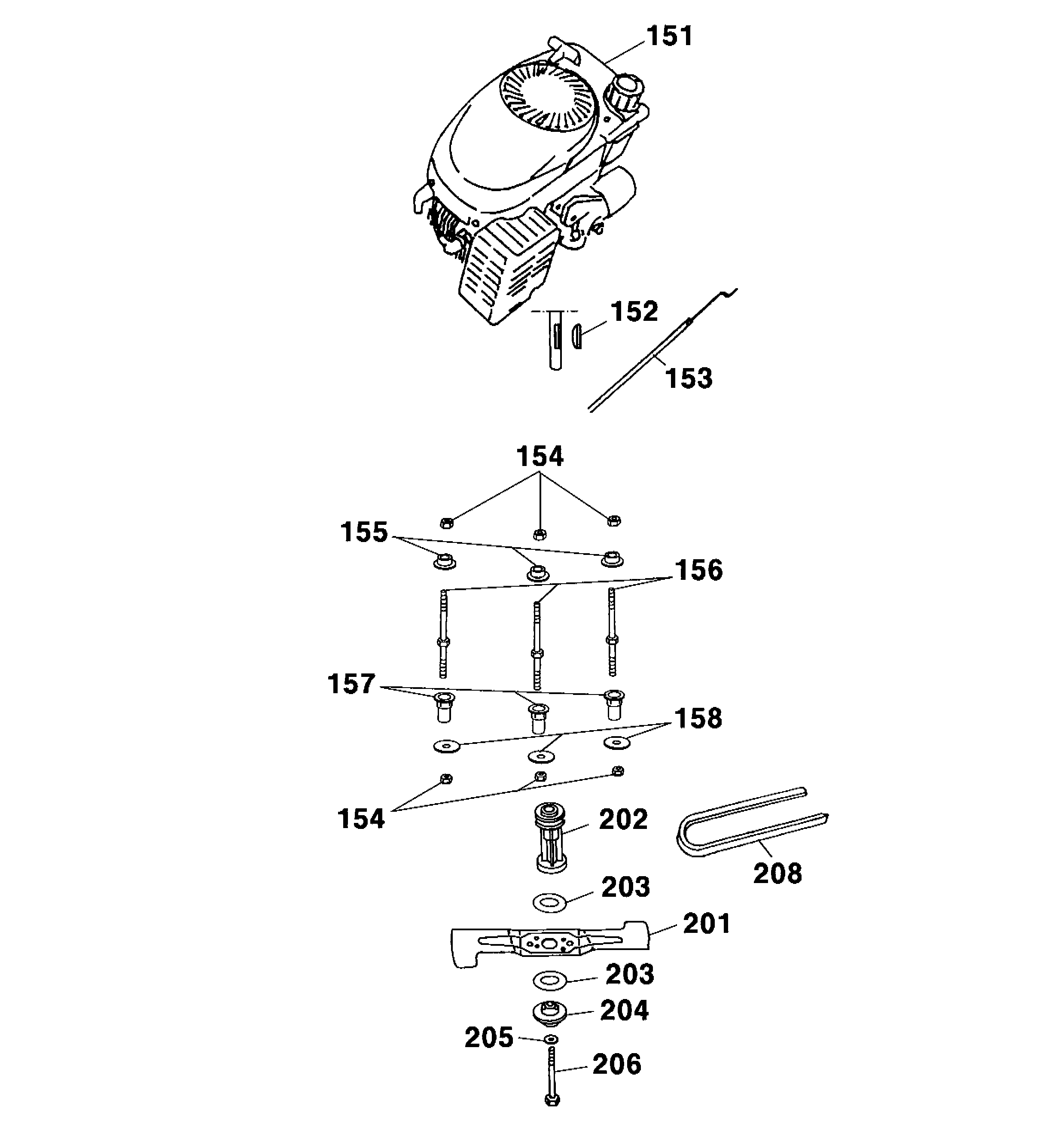
151
Motore Tecumseh
2038 005
152
Molla a rondella
0029 055
153
Cavo di comando freno
4003 054
154
Dado esagonale
0016 312
155
Bronzina
4001 172
156
Tirante a vite corto
4001 170
157
Bossolo distanziatore
4601 312
158
Rosetta
0017 111
201
Lama
4601 095
202
Puleggia motrice
4605 402
203
coupling
6450 403
204
Disco di frizione
4840 402
205
Rosetta elastica
0017 105
206
Vite a testa esagonale
0010 264
208
Cinghia trapezoidale
0039 218
Wolf
Attrezzi manuali
Tagliasiepi
Cesoie universali
Forbici per erba manuali
Cesoie per rami
Svettatoi
Cura degli alberi
Sistemi d'illuminazione
Forbici a batteria
Biotrituratori
Segacci
Rotofalci
Tosaerba elicoidali
Carrello spandiconcime / Portax
Carrelli avvolgitubo
Scarificatori / Arieggiatori
Tosaerba
Accu
Benzina
Spinta fino 42 cm
Spinta oltre 43 cm
Avviatore fino 42 cm
Avviatore oltre 43 cm
series 2
series 4
series 6
Moto-Verte
Concept
Premio
Power Edition
Esprit
Varia
Exclusiv 46 BA
47 Mulch BA
B 46 TBA
Foglio di dati
Chassis, accessori
Asse, ruote, regolazione altezza
Impugnatura cpl.
Motore, lama
Cesto raccoglierba Premio
Centura 50 DX
WGI 46 BA
B 46 TBA
HBM 46 BA
HBM 46 BA
B 46 TBA
B 46 TBA
B 46 TBA
B 46 TBA
Elettrostart / Touch&Mow
Elettrici
Ride-On
Motori a benzina
Accessori
Condizioni generali di contratto
(C) by motoruf