di nuovo a
>
Tosaerba
>
Benzina
>
Spinta oltre 43 cm
>
Varia
>
B 46 TB
>
Motore, lama
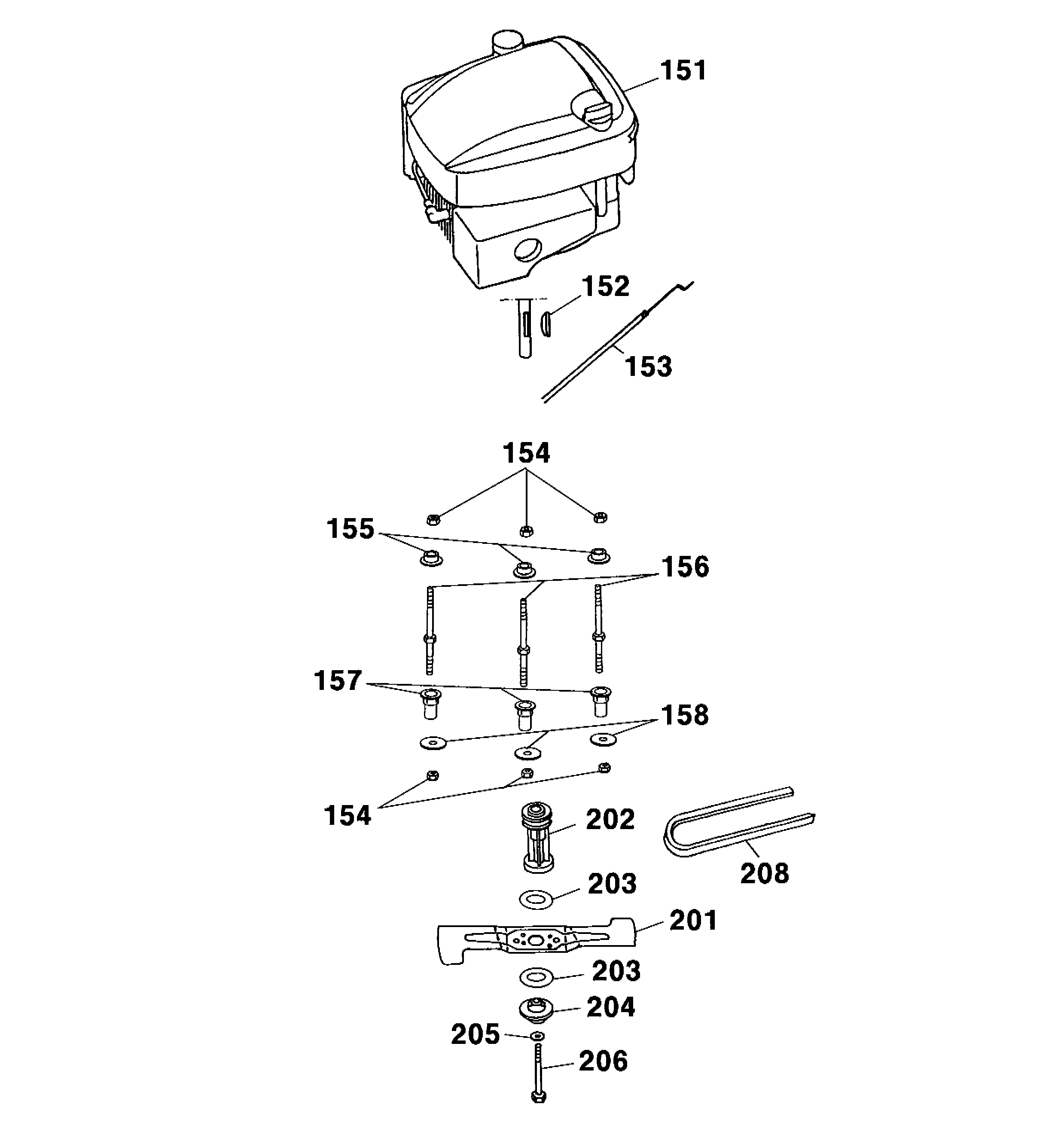
Liste dei pezzi di ricambio per Wolf Tosaerba Motore, lama
pos.
descrizione
NĂºmero de pieza
151
Motore Tecumseh
2038 005
152
Molla a rondella
0029 055
153
Cavo di comando freno
4003 054
154
Dado esagonale
0016 312
155
Bronzina
4001 172
156
Tirante a vite corto
4001 170
157
Bossolo distanziatore
4601 312
158
Rosetta
0017 111
201
Lama
4601 095
202
Coupling
4601 402
203
coupling
6450 403
204
Disco di frizione
4840 402
205
Rosetta elastica
0017 105
206
Vite a testa esagonale
0010 264
Wolf
Attrezzi manuali
Tagliasiepi
Cesoie universali
Forbici per erba manuali
Cesoie per rami
Svettatoi
Cura degli alberi
Sistemi d'illuminazione
Forbici a batteria
Biotrituratori
Segacci
Rotofalci
Tosaerba elicoidali
Carrello spandiconcime / Portax
Carrelli avvolgitubo
Scarificatori / Arieggiatori
Tosaerba
Accu
Benzina
Spinta fino 42 cm
Spinta oltre 43 cm
series 2
series 4
series 6
Concept
Premio
Esprit
Varia
B 46 TB
Foglio di dati
Chassis, accessori
Asse, ruote, regolazione altezza
Impugnatura cpl.
Motore, lama
Cesto raccoglierba Esprit
Centura 50 DX
B 46 TB
B 46 TB
B 46 TB
B 46 TB
B 46 TB
Avviatore fino 42 cm
Avviatore oltre 43 cm
Elettrostart / Touch&Mow
Elettrici
Ride-On
Motori a benzina
Accessori
Condizioni generali di contratto
(C) by motoruf