di nuovo a
>
Tosaerba
>
Elettrici
>
Spinta fino 38 cm
>
series 2
>
2.32 E
>
Motor, Blade
Liste dei pezzi di ricambio per Wolf Tosaerba Motor, Blade
pos.
descrizione
NĂºmero de pieza
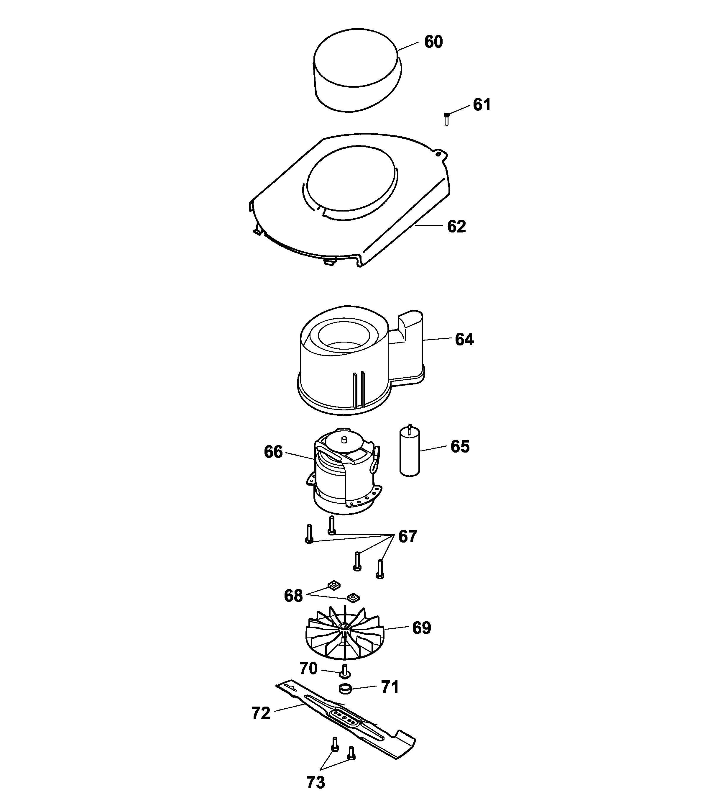
60
Coperchio per motore
4936 305
61
Vite
0012 625
62
Copertura per telaio
4912 302
64
Canale dell'aria
4932 308
65
Condensatore
1117 030
66
Motore completo con condensatore
1105 060
67
Vite
0012 610
68
Dado quadro
0016 405
69
Ventola completa
4936 027
70
Screw
0010 680
71
Tappo
4936 308
72
Lama
4932 090
73
Vite
0010 366
Wolf
Attrezzi manuali
Tagliasiepi
Cesoie universali
Forbici per erba manuali
Cesoie per rami
Svettatoi
Cura degli alberi
Sistemi d'illuminazione
Forbici a batteria
Biotrituratori
Segacci
Rotofalci
Tosaerba elicoidali
Carrello spandiconcime / Portax
Carrelli avvolgitubo
Scarificatori / Arieggiatori
Tosaerba
Accu
Benzina
Elettrici
Spinta fino 38 cm
series 2
2.132 E
2.36 E
2.36 E
2.32 E
2.32 E
2.36 E
2.36 E
2.32 E
2.32 E
2.32 EP
2.38 E
2.36 EK
2.32 E
2.36 E
2.36 E
2.38 E
2.34 CPK
2.36 EK
2.36 E
2.36 E
2.36 E
2.36 XC
2.32 E
Data Sheet
Chassis
Axle, Wheels, Height-adjustment
Handlebar, Switch
Motor, Blade
2.32 E
2.32 E
2.38 E
2.38 E
2.32 E-1
2.32 E-1
series 4
series 6
Picco
Premio
Power Edition
Esprit
Compact Plus
Varia
Spinta oltre 40 cm
Semoventi
Ride-On
Motori a benzina
Accessori
Condizioni generali di contratto
(C) by motoruf