di nuovo a
>
Tosaerba
>
Benzina
>
Avviatore oltre 43 cm
>
Premio
>
Premio 46 BAI
>
Lama
Liste dei pezzi di ricambio per Wolf Tosaerba Lama
pos.
descrizione
NĂºmero de pieza
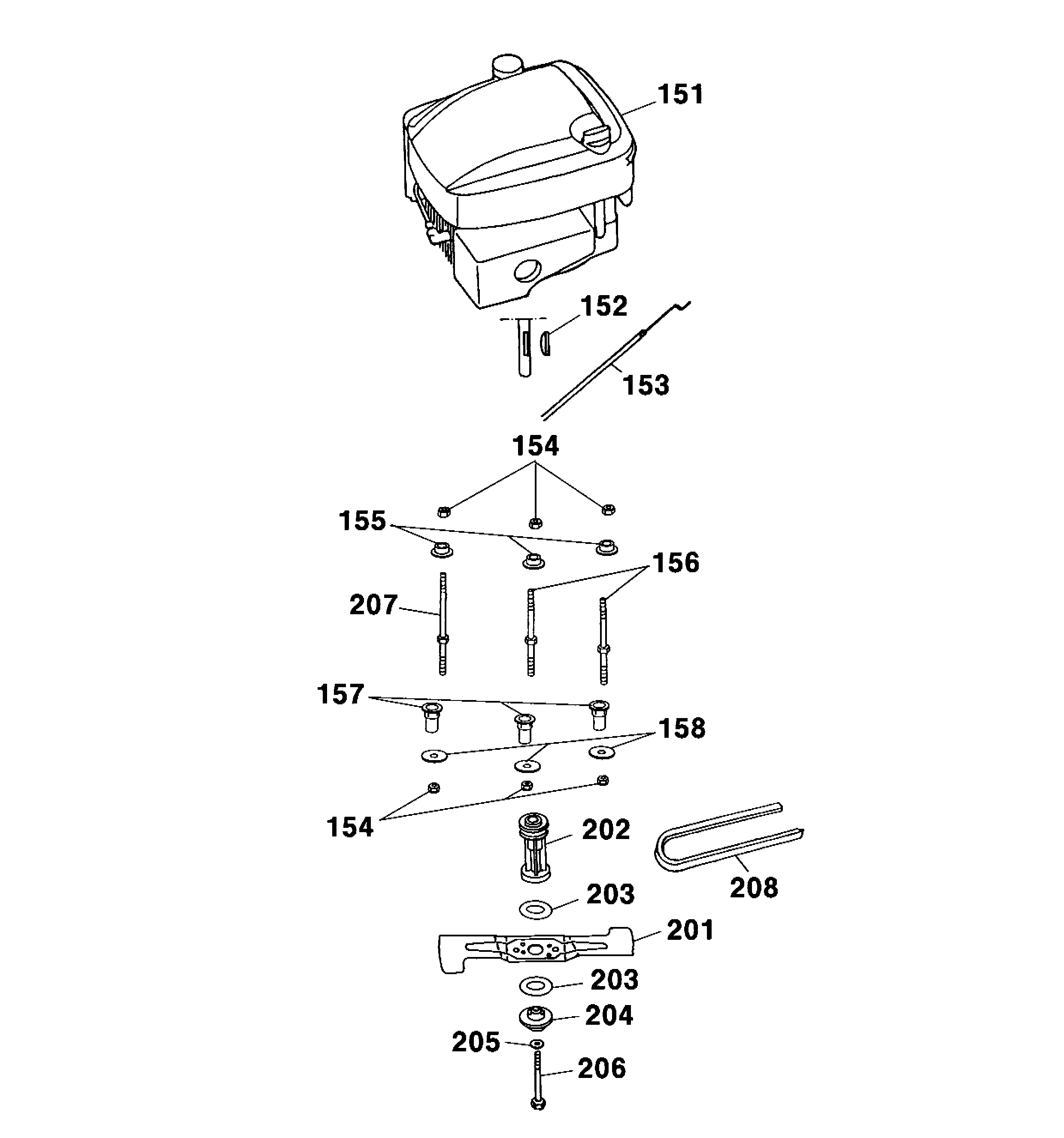
151
Motor
2069 060
152
Molla a rondella
0029 130
153
Cavo di comando freno
4005 058
154
Dado esagonale
0016 312
155
Bronzina
4001 172
156
Tirante a vite corto
4001 170
157
Bossolo distanziatore
4601 312
158
Rosetta
0017 111
201
Lama
4601 095
202
Puleggia motrice
4605 402
203
coupling
6450 403
204
Disco di frizione
4840 402
205
Rosetta elastica
0017 105
206
Vite a testa esagonale
0010 264
207
Tirante a vite grande
4001 171
208
Cinghia trapezoidale
0039 218
Wolf
Attrezzi manuali
Tagliasiepi
Cesoie universali
Forbici per erba manuali
Cesoie per rami
Svettatoi
Cura degli alberi
Sistemi d'illuminazione
Forbici a batteria
Biotrituratori
Segacci
Rotofalci
Tosaerba elicoidali
Carrello spandiconcime / Portax
Carrelli avvolgitubo
Scarificatori / Arieggiatori
Tosaerba
Accu
Benzina
Spinta fino 42 cm
Spinta oltre 43 cm
Avviatore fino 42 cm
Avviatore oltre 43 cm
series 2
series 4
series 6
Moto-Verte
Concept
Premio
Premio 46 BA
Premio 46 HA
Premio 46 BA
Premio 46 TMA
Premio 46 BA
Premio 46 HA
Premio 46 TMA
Premio 46 BAI
Foglio di dati
Chassis
Asse, ruote, regolazione altezza
Impugnatura cpl.
Lama
Cesto raccoglierba Premio
XTE 50 ES
Premio 46 BAI
Premio 46 BAi
Power Edition
Esprit
Varia
Elettrostart / Touch&Mow
Elettrici
Ride-On
Motori a benzina
Accessori
Condizioni generali di contratto
(C) by motoruf