di nuovo a
>
Tosaerba
>
Benzina
>
Spinta fino 42 cm
>
Varia
>
HBM 40 B
>
Quattro 40
>
Indotto, bobina di accensione, freno
Liste dei pezzi di ricambio per Wolf Tosaerba Indotto, bobina di accensione, freno
pos.
descrizione
NĂºmero de pieza
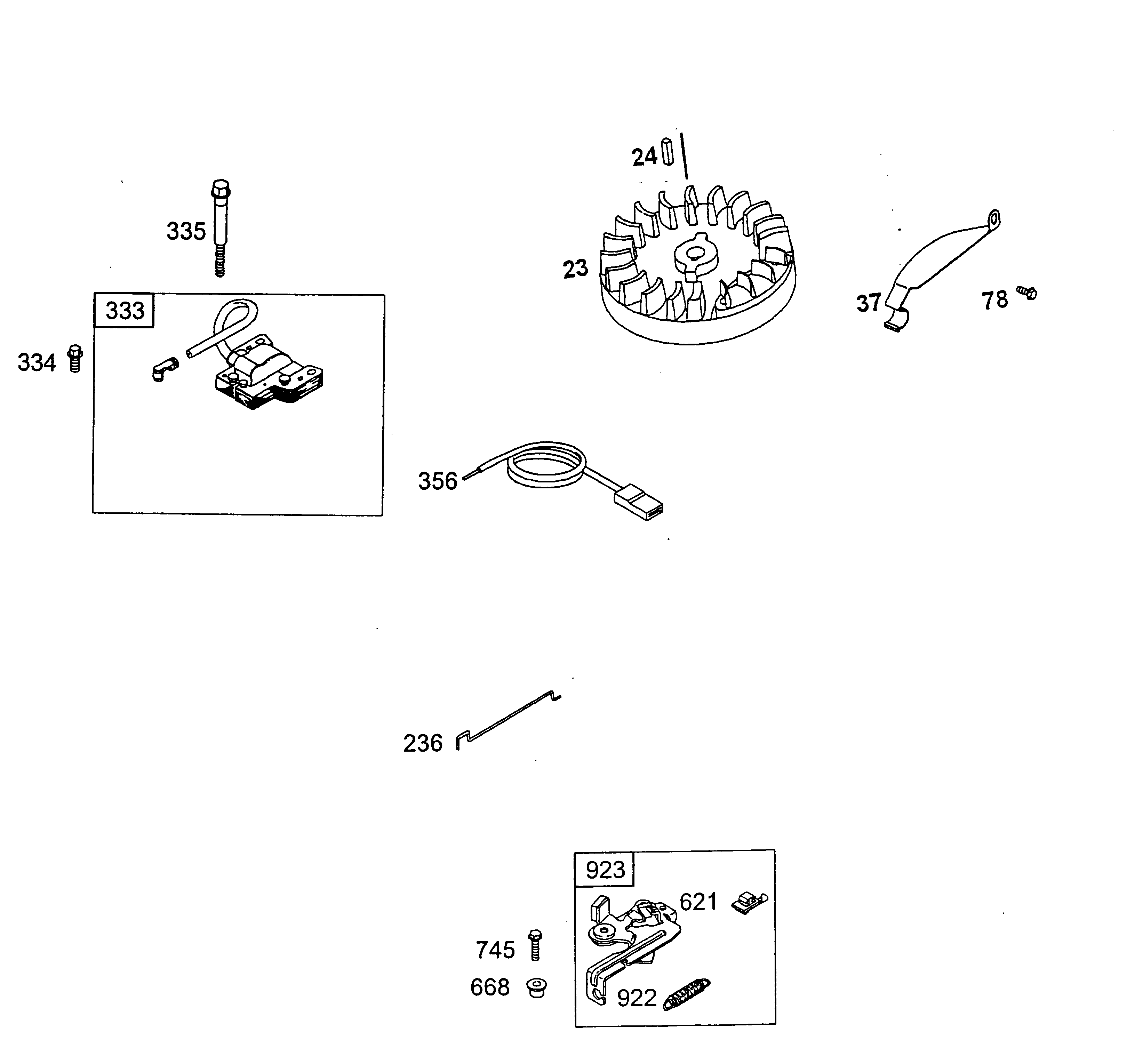
23
Volano S
2056 184
24
Chiavetta per volano
2057 130
37
Lamiera di protezione
2056 178
78
Vite
2063 314
236
Tiranteria
2059 312
333
Bobine di accensione
2003 051
334
Vite
2003 103
335
Vite
2003 104
356
Cavo elettrico
2057 183
621
Interruttore di massa
2063 131
668
Bussola
2063 221
745
Vite
2056 140
922
Molla
2056 141
923
Freno
2056 142
Wolf
Attrezzi manuali
Tagliasiepi
Cesoie universali
Forbici per erba manuali
Cesoie per rami
Svettatoi
Cura degli alberi
Sistemi d'illuminazione
Forbici a batteria
Biotrituratori
Segacci
Rotofalci
Tosaerba elicoidali
Carrello spandiconcime / Portax
Carrelli avvolgitubo
Scarificatori / Arieggiatori
Tosaerba
Accu
Benzina
Spinta fino 42 cm
series 2
series 4
series 6
Premio
Power Edition
Esprit
Moto-Verte
Varia
HB 42 BE
HBM 40 B
Euro 2002
Olympia B plus
HBM 40 B
Foglio di dati
Chassis
Asse, ruote, regolazione altezza
Impugnatura cpl.
Motore, lama
Sacco di raccolta Esprit
MK 40
Quattro 40
Basamento
Pistone, biella, valvole
Albero a gomiti, coppa dell'olio
Carburatore, serbatoio
Regolazione
Indotto, bobina di accensione, freno
Filtro dell'aria, silenziatore
Copertura, starter
Serie di guarnizioni
Olympia B plus
HBM 40 B
Compact Plus
Spinta oltre 43 cm
Avviatore fino 42 cm
Avviatore oltre 43 cm
Elettrostart / Touch&Mow
Elettrici
Ride-On
Motori a benzina
Accessori
Condizioni generali di contratto
(C) by motoruf