di nuovo a
>
Tosaerba
>
Benzina
>
Spinta fino 42 cm
>
Premio
>
Premio 40 B
>
55 XTE
>
Filtro dell'aria, silenziatore
Liste dei pezzi di ricambio per Wolf Tosaerba Filtro dell'aria, silenziatore
pos.
descrizione
NĂºmero de pieza
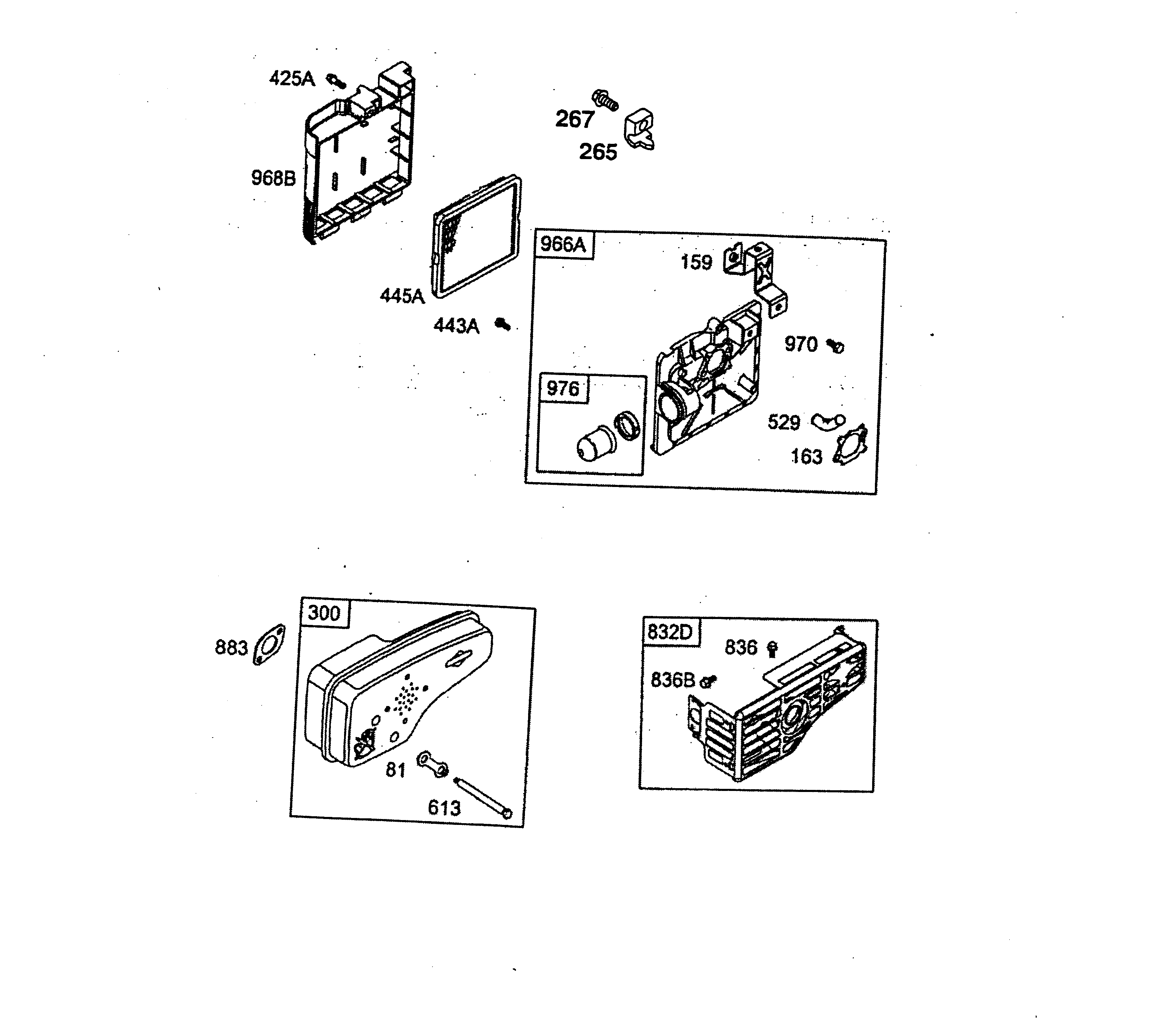
81
Fusibile
2063 501
159
Piastrina
2063 503
163
Coperchio di starter
2059 220
265
Fascetta
2063 312
267
Screw
2059 304
300
Scarico senza catalizzatore
2069 019
425A
Vite
2059 216
443A
Vite
2059 217
445A
Cartuccia per filtro
2058 411
529
Tubo flessibile per ventola
2059 409
613
Vite
2063 124
832D
Protezione anticontatto senza catalizzatore
2069 176
836
Vite
2059 218
836B
Vite
1001 153
883
Guarnizione per scarico
2059 501
966A
Scatola del filtro dell'aria
2059 405
968B
Coperchio
2059 219
970
Vite
2059 213
976
Primer
2057 181
Wolf
Attrezzi manuali
Tagliasiepi
Cesoie universali
Forbici per erba manuali
Cesoie per rami
Svettatoi
Cura degli alberi
Sistemi d'illuminazione
Forbici a batteria
Biotrituratori
Segacci
Rotofalci
Tosaerba elicoidali
Carrello spandiconcime / Portax
Carrelli avvolgitubo
Scarificatori / Arieggiatori
Tosaerba
Accu
Benzina
Spinta fino 42 cm
series 2
series 4
series 6
Premio
Premio 40 B
Premio 40 B
Foglio di dati
Chassis
Asse, ruote, regolazione altezza
Impugnatura cpl.
Motore, lama
Cesto raccoglierba Premio
55 XTE
Basamento
Pistone, valvole, albero a gomiti, coppa dell'olio
Carburatore (Primer System)
Regolazione, Indotto, avviatore
Cappottatura, serbatoio, cappottatura di ventola
Filtro dell'aria, silenziatore
Accensione, starter
Serie di guarnizioni
50 XTE
Premio 40 B
Premio 40 H
Power Edition
Esprit
Moto-Verte
Varia
Compact Plus
Spinta oltre 43 cm
Avviatore fino 42 cm
Avviatore oltre 43 cm
Elettrostart / Touch&Mow
Elettrici
Ride-On
Motori a benzina
Accessori
Condizioni generali di contratto
(C) by motoruf