di nuovo a
>
Tosaerba
>
Benzina
>
Avviatore oltre 43 cm
>
series 6
>
6.46 BAM
>
XE, XTE 35/40-50/55
>
Filtro XTE 35-40
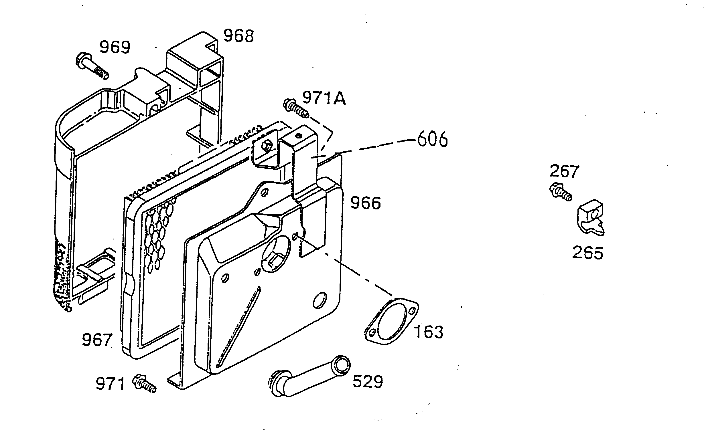
Liste dei pezzi di ricambio per Wolf Tosaerba Filtro XTE 35-40
pos.
descrizione
NĂºmero de pieza
163
Coperchio di starter
2059 220
265
Fascetta
2063 312
267
Vite
2063 313
606
Supporto per cavo di comando
2059 404
966
Scatola del filtro dell'aria
2059 405
967
Cartuccia per filtro
2063 408
968
Coperchio per filtro dell'aria
2059 406
969
Vite
2003 421
971
Vite
2003 423
Wolf
Attrezzi manuali
Tagliasiepi
Cesoie universali
Forbici per erba manuali
Cesoie per rami
Svettatoi
Cura degli alberi
Sistemi d'illuminazione
Forbici a batteria
Biotrituratori
Segacci
Rotofalci
Tosaerba elicoidali
Carrello spandiconcime / Portax
Carrelli avvolgitubo
Scarificatori / Arieggiatori
Tosaerba
Accu
Benzina
Spinta fino 42 cm
Spinta oltre 43 cm
Avviatore fino 42 cm
Avviatore oltre 43 cm
series 2
series 4
series 6
6.51 BA
6.46 BA
6.46 BAM
Foglio di dati
Impugnatura, parte superiore/ fermalama
Chassis
Accoppiatore lama 46
XE, XTE, XTL 35/40/45/50-I/C-ES
XE, XTE 35/40-50/55
Basamento
Pistone, valvole, albero a gomiti
Coppa dell'olio
Carburatore, regolazione
Filtro XTE 35-40
Filtro XTE 50-55
Volano, copertura della ventola
Serbatoio, copertura XTE 35-40
Serbatoio, copertura XE 50-55
Silenziatore, bobina di accensione XTE 35-40
Silenziatore, bobina di accensione XE 50-55
Starter
6.51 BA
Moto-Verte
Concept
Premio
Power Edition
Esprit
Varia
Elettrostart / Touch&Mow
Elettrici
Ride-On
Motori a benzina
Accessori
Condizioni generali di contratto
(C) by motoruf