di nuovo a
>
Tosaerba
>
Elettrici
>
Spinta oltre 40 cm
>
Premio
>
Premio 46 E
>
Cuffia di protezione, motore, lama
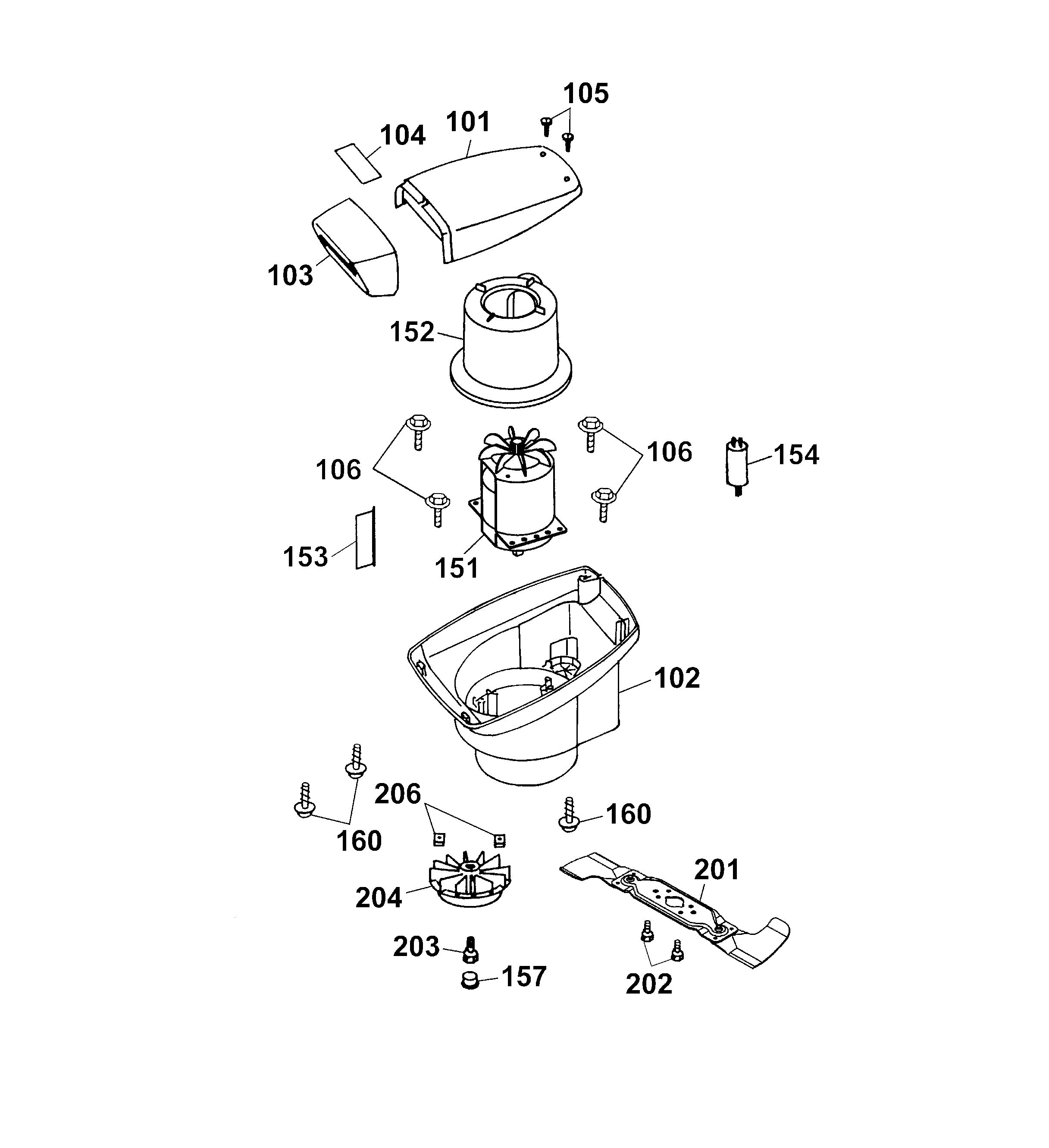
Liste dei pezzi di ricambio per Wolf Tosaerba Cuffia di protezione, motore, lama
pos.
descrizione
NĂºmero de pieza
101
Parte superiore
4317 301
102
Parte inferiore
4620 300
103
Front Part
4317 302
104
Etichetta
4628 205
105
Vite
0012 625
106
Vite
0012 886
151
Motore
1142 081
152
Coperchio guida-aria
4961 326
153
Foglio di guida per l'aria
1142 300
154
Condensatore
1133 030
157
Tappo
4317 308
160
Vite
0012 641
201
Traversa portalama completo
4601 094
***
Replacement blades VI-W (1 pair)
4350 040
202
Vite a testa esagonale
0010 385
203
Vite a testa esagonale
0010 403
204
Ventola
4317 026
206
Dado quadro
0016 409
Wolf
Attrezzi manuali
Tagliasiepi
Cesoie universali
Forbici per erba manuali
Cesoie per rami
Svettatoi
Cura degli alberi
Sistemi d'illuminazione
Forbici a batteria
Biotrituratori
Segacci
Rotofalci
Tosaerba elicoidali
Carrello spandiconcime / Portax
Carrelli avvolgitubo
Scarificatori / Arieggiatori
Tosaerba
Accu
Benzina
Elettrici
Spinta fino 38 cm
Spinta oltre 40 cm
series 2
series 4
series 6
Concept
Premio
Premio 40 E
Premio 40 E / CH
Premio 46 E
Premio 40 EKF
Premio 40 EKF
Premio 40 E
Premio 40 E
Premio 46 E
Premio 40 EKF
Premio 40 EKF
Premio 40 E
Premio 40 E
Premio 46 E
Foglio di dati
Chassis
Asse, ruote, regolazione altezza
Impugnatura, interruttore
Cuffia di protezione, motore, lama
Cesto raccoglierba Premio
MK 46
Premio 40 EKF
Power Edition
Esprit
Varia
Compact Plus
Semoventi
Ride-On
Motori a benzina
Accessori
Condizioni generali di contratto
(C) by motoruf