di nuovo a
>
Tosaerba
>
Elettrici
>
Spinta fino 38 cm
>
Picco
>
Picco 32 E
>
Chassis
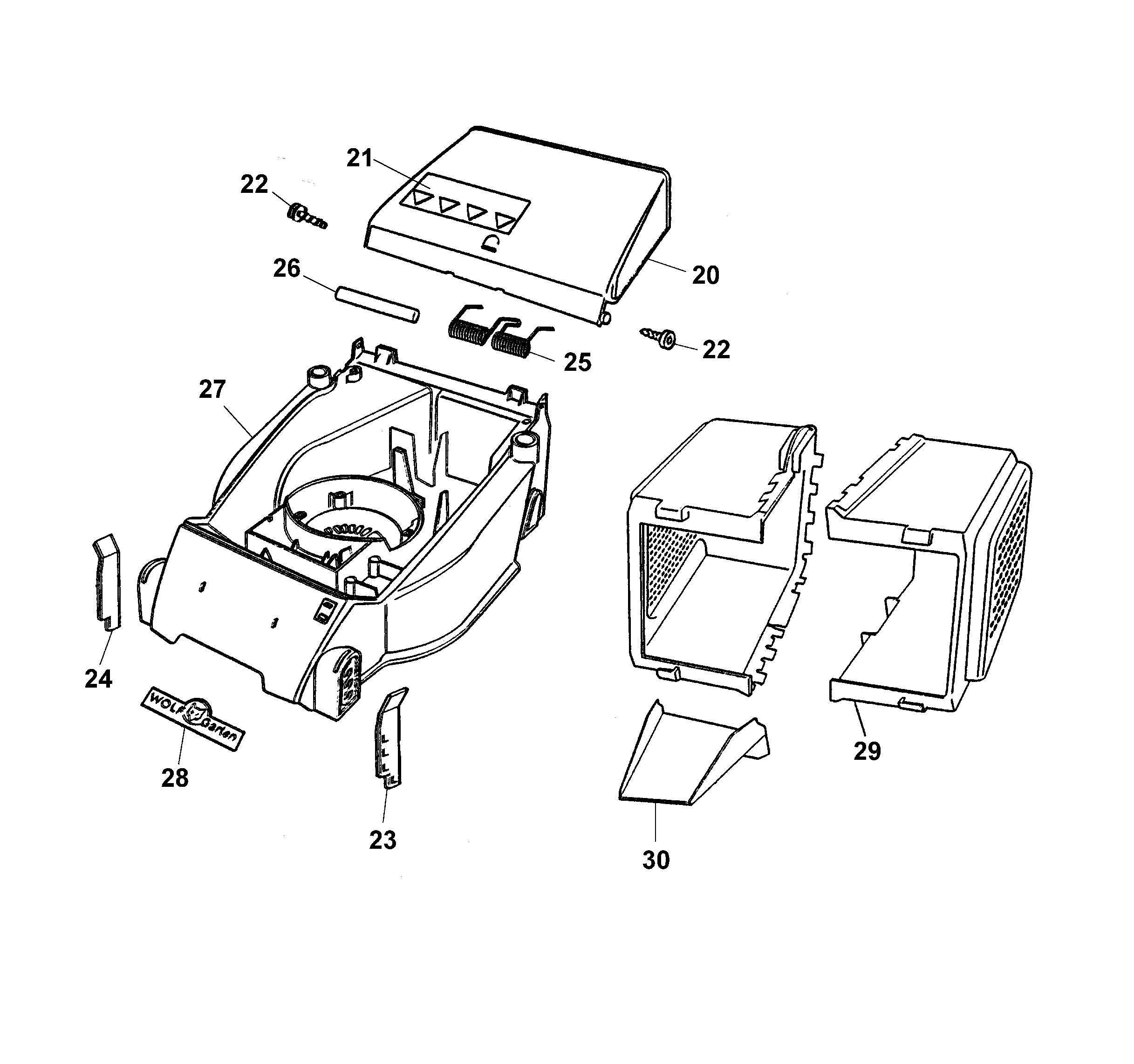
Liste dei pezzi di ricambio per Wolf Tosaerba Chassis
pos.
descrizione
NĂºmero de pieza
20
Coperchio di protezione giallo
4901 302
21
Etichetta "Sicurezza" / Pittogramma
0051 244
22
Vite
0012 622
23
Sostegno sinistra
4901 309
24
Sostegno destra
4901 308
25
Molla di torsione doppia
4901 100
26
Barra tonda
4901 208
27
Chassis
4901 300
28
Marchio WOLF-Garten
0051 115
29
Mezza cesta di raccolto
4901 303
30
Scaricatore
4901 307
Wolf
Attrezzi manuali
Tagliasiepi
Cesoie universali
Forbici per erba manuali
Cesoie per rami
Svettatoi
Cura degli alberi
Sistemi d'illuminazione
Forbici a batteria
Biotrituratori
Segacci
Rotofalci
Tosaerba elicoidali
Carrello spandiconcime / Portax
Carrelli avvolgitubo
Scarificatori / Arieggiatori
Tosaerba
Accu
Benzina
Elettrici
Spinta fino 38 cm
series 2
series 4
series 6
Picco
Picco 32 E
Picco 32 E
Picco 32 E
Picco 32 E
Picco 32 E
Picco 32 ER
Picco 32 E
Picco 32 ER
Picco 32 E
Foglio di dati
Chassis
Asse, ruote, regolazione altezza
Impugnatura cpl.
Cuffia di protezione, motore, lama
Picco 32 E
Picco 32 ER
Picco 32 E
Picco 32 E
P32E9
Picco 32 E
Premio
Power Edition
Esprit
Compact Plus
Varia
Spinta oltre 40 cm
Semoventi
Ride-On
Motori a benzina
Accessori
Condizioni generali di contratto
(C) by motoruf