di nuovo a
>
Motori a benzina
>
Tecumseh
>
Futura
>
Futura 60 ES
>
Carburatore
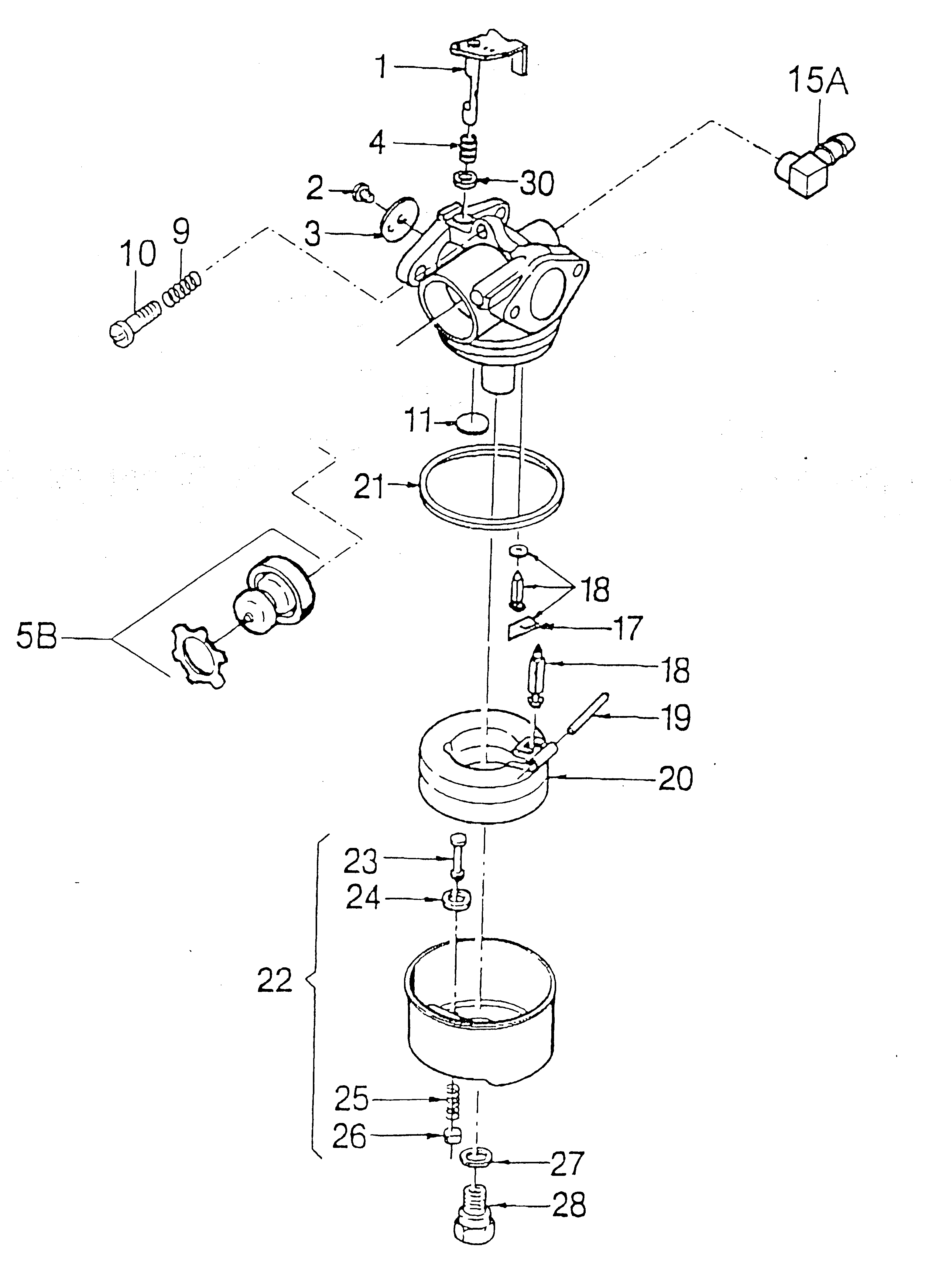
Liste dei pezzi di ricambio per Wolf Motori a benzina Carburatore
pos.
descrizione
NĂºmero de pieza
***
Carburatore
2034 013
1
Perno di farfalla completo
2087 450
2
Vite per farfalla
2087 452
3
Coperchio di farfalla
2034 138
4
Molla di rientro
2034 139
5B
Primer completo
2034 020
9
Molla
2034 140
10
Vite
2034 141
11
Tappo cieco
2087 454
15A
Pezzo di collegamento
2087 463
17
Supporto per spillo di galleggiante
2087 456
18
Spillo di galleggiante completo
2087 455
19
Perno di galleggiante
2087 458
20
Galleggiante
2087 457
21
Guarnizione
2087 462
22
Camera di galleggiante completa
2034 307
23
Tampone
1032 451
24
Guarnizione
1032 449
25
Molla
1032 447
26
Sostegno
1032 446
27
Guarnizione
2034 142
28
Dado
2034 143
30
Feltro di lubrificazione
2034 144
Wolf
Attrezzi manuali
Tagliasiepi
Cesoie universali
Forbici per erba manuali
Cesoie per rami
Svettatoi
Cura degli alberi
Sistemi d'illuminazione
Forbici a batteria
Biotrituratori
Segacci
Rotofalci
Tosaerba elicoidali
Carrello spandiconcime / Portax
Carrelli avvolgitubo
Scarificatori / Arieggiatori
Tosaerba
Ride-On
Motori a benzina
Tecumseh
Prisma
Centura
Futura
Futura 60 ES
Motore 1
Motore 2
Carburatore
Starter
Semoventi
Futura 65 ES
Synergy
Vantage
VLV
Briggs & Stratton
Honda
Kawasaki
Accessori
Condizioni generali di contratto
(C) by motoruf