di nuovo a
>
Motori a benzina
>
Tecumseh
>
Prisma
>
Prisma 37
>
Carburatore
Liste dei pezzi di ricambio per Wolf Motori a benzina Carburatore
pos.
descrizione
NĂºmero de pieza
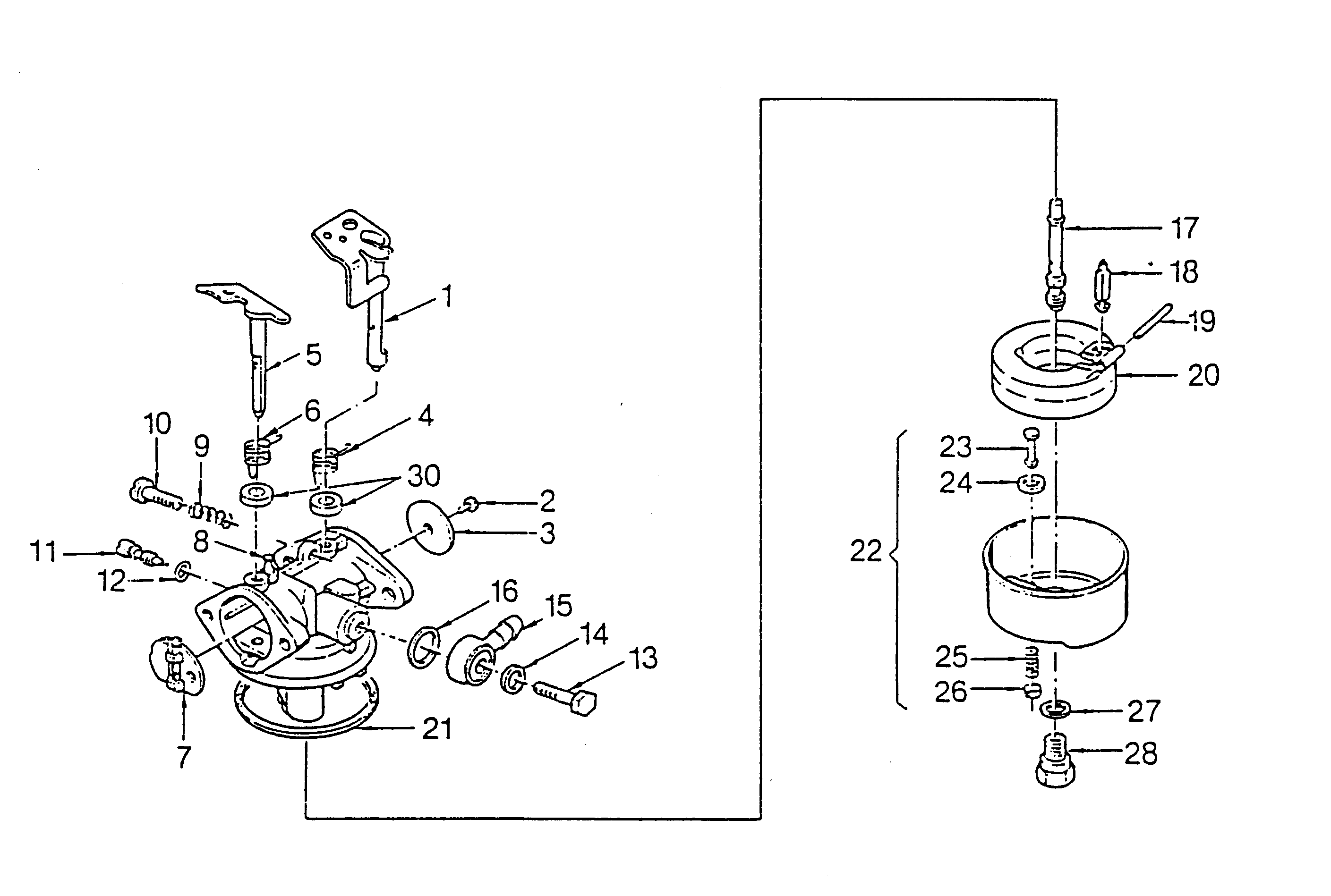
1
Perno di coperchio di farfalla
1032 492
2
Vite
2031 460
3
Piastra per coperchio di farfalla
1032 433
4
Molla
2085 411
5
Albero di farfalla
2028 404
6
Molla
1039 440
7
Coperchio di starter
2028 402
8
Spina
2030 405
9
Molla
1032 458
10
Vite
2031 461
11
Vite di regolazione
2031 462
12
Guarnizione
2031 465
13
Vite
1032 439
14
Guarnizione
1032 438
15
Supporto d'entrata
1032 437
16
Guarnizione
2031 466
17
Ugello
2031 472
18
Spina di galleggiante
2031 471
19
Perno di galleggiante
1032 443
20
Galleggiante
2031 470
21
Guarnizione
1032 452
22
Camera del galleggiante completa
1032 450
27
Guarnizione
1032 444
28
Vite
1032 445
30
Feltro di lubrificazione
1038 414
***
Carburatore completo
2031 020
Wolf
Attrezzi manuali
Tagliasiepi
Cesoie universali
Forbici per erba manuali
Cesoie per rami
Svettatoi
Cura degli alberi
Sistemi d'illuminazione
Forbici a batteria
Biotrituratori
Segacci
Rotofalci
Tosaerba elicoidali
Carrello spandiconcime / Portax
Carrelli avvolgitubo
Scarificatori / Arieggiatori
Tosaerba
Ride-On
Motori a benzina
Tecumseh
Prisma
Prisma 37
Motore Prisma 37 L (1)
Motore Prisma 37 L (2)
Rewind Starter
Carburatore
Carburatore Primer
Prisma 156
Prisma 156
Prisma 156
Prisma 37 Fixspeed
Centura
Futura
Synergy
Vantage
VLV
Briggs & Stratton
Honda
Kawasaki
Accessori
Condizioni generali di contratto
(C) by motoruf