di nuovo a
>
Tosaerba
>
Benzina
>
Avviatore oltre 43 cm
>
Power Edition
>
Power Edition 46 TMA
>
55 XM
>
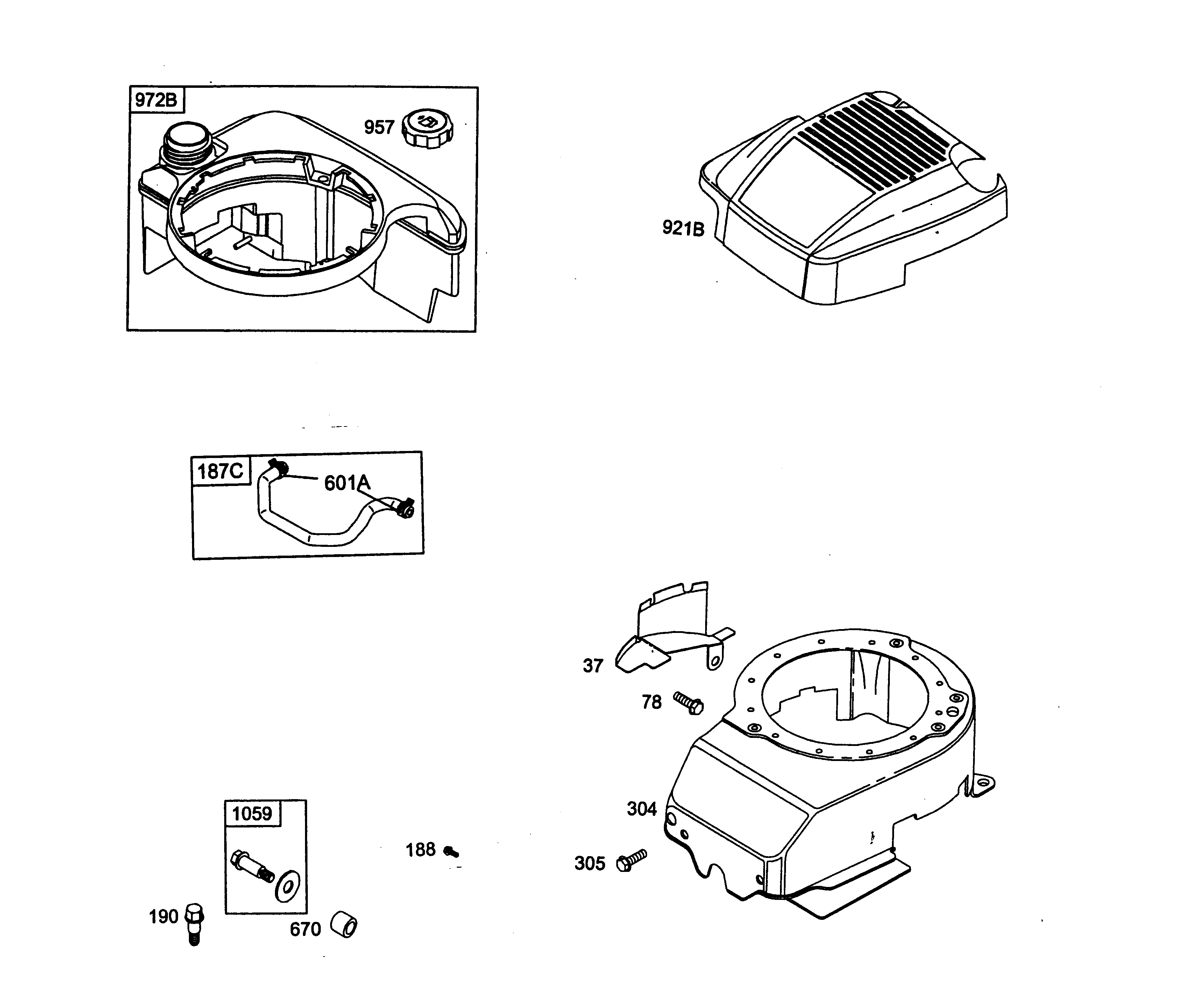
Cappottatura, serbatoio, cappottatura di ventola
Liste dei pezzi di ricambio per Wolf Tosaerba Cappottatura, serbatoio, cappottatura di ventola
pos.
descrizione
NĂºmero de pieza
37
Lamiera di protezione
2058 306
78
Vite
2058 104
187C
Tubo della benzina
2058 310
188
Vite
2058 311
190
Vite
2058 312
304
Scatola per ventola
2058 107
305
Vite a testa esagonale
2057 106
601A
Morsetto
2058 314
670
Distanziale
2057 166
921B
Cuffia di copertura
2058 315
957
Tappo di serbatoio
2064 501
972B
Serbatoio
2069 199
1059
Vite con rondella
2059 203
Wolf
Attrezzi manuali
Tagliasiepi
Cesoie universali
Forbici per erba manuali
Cesoie per rami
Svettatoi
Cura degli alberi
Sistemi d'illuminazione
Forbici a batteria
Biotrituratori
Segacci
Rotofalci
Tosaerba elicoidali
Carrello spandiconcime / Portax
Carrelli avvolgitubo
Scarificatori / Arieggiatori
Tosaerba
Accu
Benzina
Spinta fino 42 cm
Spinta oltre 43 cm
Avviatore fino 42 cm
Avviatore oltre 43 cm
series 2
series 4
series 6
Moto-Verte
Concept
Premio
Power Edition
Power Edition 46 HA
Power Edition 46 HA
Power Edition 46 HA
Power Edition 46 TMA
Foglio di dati
Chassis
Asse, ruote, regolazione altezza
Impugnatura cpl.
Motore, lama
grass collector
MK 40 (4011 075) Kit per mulching (Kit per mulching)
55 XM
Basamento
Pistone, valvole, albero a gomiti, coppa dell'olio
Carburatore (Primer System)
Regolazione, Indotto, avviatore
Cappottatura, serbatoio, cappottatura di ventola
Filtro dell'aria, silenziatore
Accensione, starter
Serie di guarnizioni
Power Edition 46 KA
Esprit
Varia
Elettrostart / Touch&Mow
Elettrici
Ride-On
Motori a benzina
Accessori
Condizioni generali di contratto
(C) by motoruf