di nuovo a
>
Tosaerba
>
Benzina
>
Avviatore oltre 43 cm
>
series 2
>
2.48 XC, Good-Line
>
Q 48 Fixspeed
>
Accensione, starter
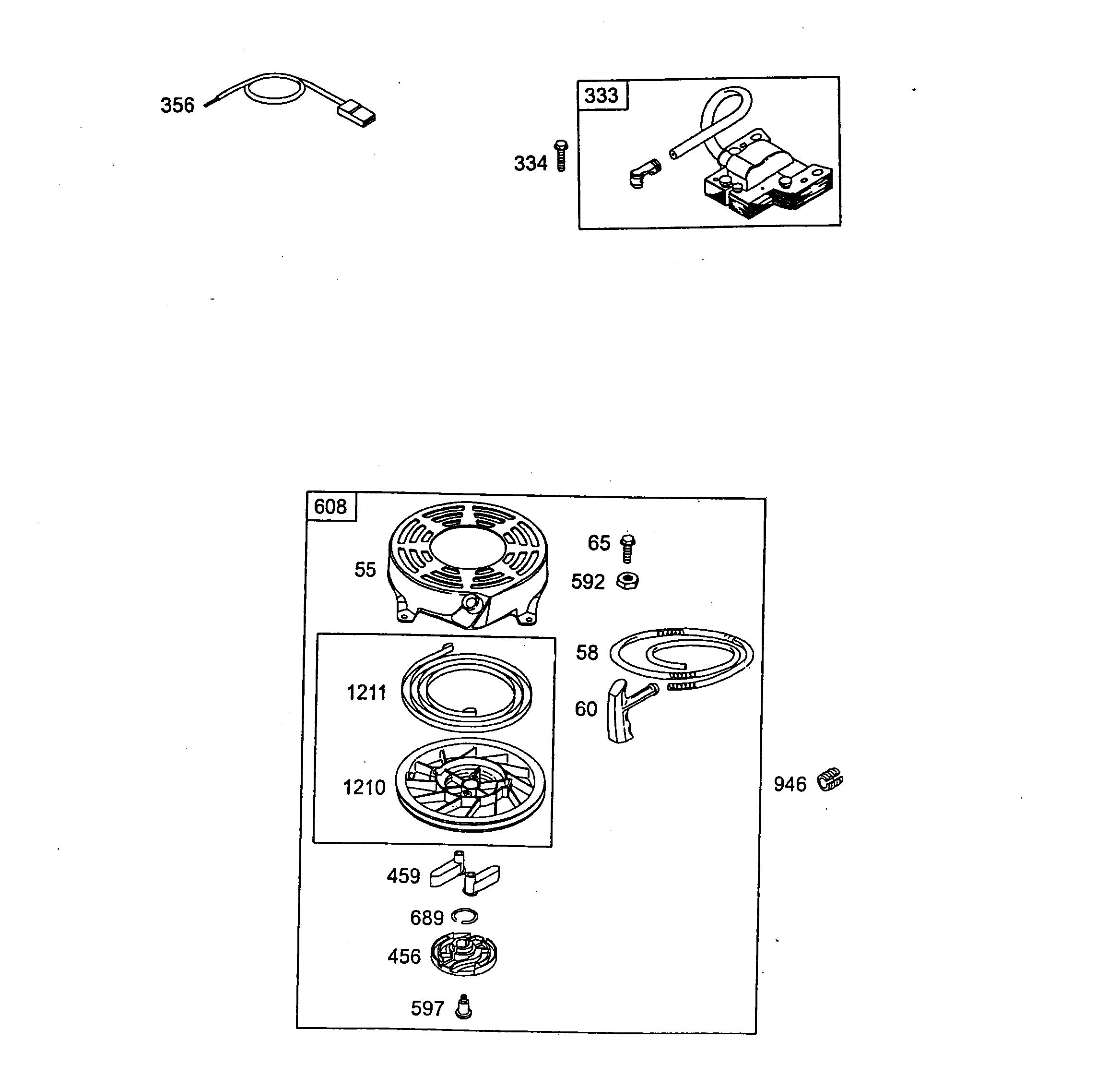
Liste dei pezzi di ricambio per Wolf Tosaerba Accensione, starter
pos.
descrizione
NĂºmero de pieza
333
Bobine di accensione
2063 056
334
Vite
2003 103
356
Cavo di massa
2059 317
55
Scatola per starter
2069 412
58
Fune
2063 604
60
Manopola di starter nuova
2069 300
65
Vite
1001 158
456
Disco per cricco
2056 313
459
Sostegno
2069 302
592
Dado
1001 156
597
Vite
1034 438
608
Starter completo
2069 012
689
Fusibile
2056 185
946
Fermo per fune
2069 416
1210/11
Puleggia per fune completa
2057 184
Wolf
Attrezzi manuali
Tagliasiepi
Cesoie universali
Forbici per erba manuali
Cesoie per rami
Svettatoi
Cura degli alberi
Sistemi d'illuminazione
Forbici a batteria
Biotrituratori
Segacci
Rotofalci
Tosaerba elicoidali
Carrello spandiconcime / Portax
Carrelli avvolgitubo
Scarificatori / Arieggiatori
Tosaerba
Accu
Benzina
Spinta fino 42 cm
Spinta oltre 43 cm
Avviatore fino 42 cm
Avviatore oltre 43 cm
series 2
2.46 HA
2.53 BA, Good-Line
2.48 BA, Good-Line
2.48 XC, Good-Line
Foglio di dati
Chassis
Asse, ruote, regolazione altezza
Impugnatura cpl.
Motore, lama
Sacco di raccolta Good-Line 48 + 53
Q 48 Fixspeed
Basamento
Pistone, albero a gomiti, valvole, coppa dell'olio
Carburatore (Primer System)
Regolazione, Indotto, freno
Cappottatura, serbatoio, cappottatura di ventola
Filtro dell'aria, silenziatore
Accensione, starter
Serie di guarnizioni
2.46 HA
series 4
series 6
Moto-Verte
Concept
Premio
Power Edition
Esprit
Varia
Elettrostart / Touch&Mow
Elettrici
Ride-On
Motori a benzina
Accessori
Condizioni generali di contratto
(C) by motoruf