



| pos. | descrizione | Número de pieza | |
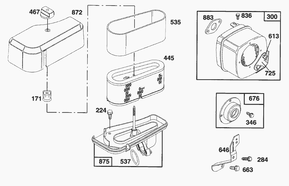
| 171 | 281051 | ||
| 224 | 94729 | ||
| 284 | 94704 | ||
| 300 | 491413 | ||
| 346 | 93705 | ||
| 445 | 493910 | ||
| 467 | 493903 | ||
| 535 | 272477 | ||
| 537 | 281106 | ||
| 613 | 93927 | ||
| 646 | 224546 | ||
| 663 | 94620 | ||
| 676 | 396903 | ||
| 725 | 223023 | ||
| 836 | 94786 | ||
| 872 | 281105 | ||
| 875 | 496368 | ||
| 883 | 272293 |

| pos. | descrizione | Número de pieza | |
| 182 | 223925 | ||
| 182 | 223866 | ||
| 188 | 94480 | ||
| 201 | 262767 | ||
| 209 | 260871 | ||
| 216 | 262766 | ||
| 222 | 495611 | ||
| 232 | 262785 | ||
| 265 | 221535 | ||
| 482 | 93621 | ||
| 527 | 221428 | ||
| 657 | 93496 | ||
| 683 | 93572 | ||
| 877 | 393814 | ||
| 887 | 391529 |


| pos. | descrizione | Número de pieza | |
| 309 | 394805 | ||
| 310 | 94003 | ||
| 311 | 395538 | ||
| 510 | 495878 | ||
| 513 | 398003 | ||
| 544 | 390837 | ||
| 783 | 280104 | ||
| 801 | 394856 | ||
| 802 | 395537 | ||
| 803 | 398159 | ||
| 876 | 495877 | ||
| 896 | 94288 |
