di nuovo a
motoruf
Warenkorb

Liste dei pezzi di ricambio per Toro




pos.descrizioneNúmero de pieza
32450A
Liste dei pezzi di ricambio


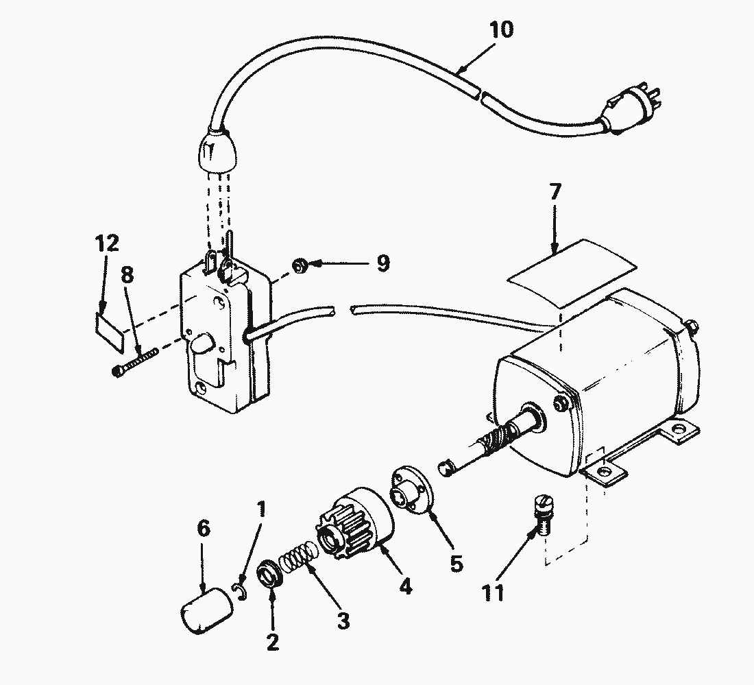
pos.descrizioneNúmero de pieza
133842
233430
333431
433432
533433
633451
734180
8650741
9650742
1130063
1234161
Toro
Condizioni generali di contratto
(C) by motoruf