di nuovo a
motoruf
Warenkorb

Liste dei pezzi di ricambio per Toro




Liste dei pezzi di ricambio


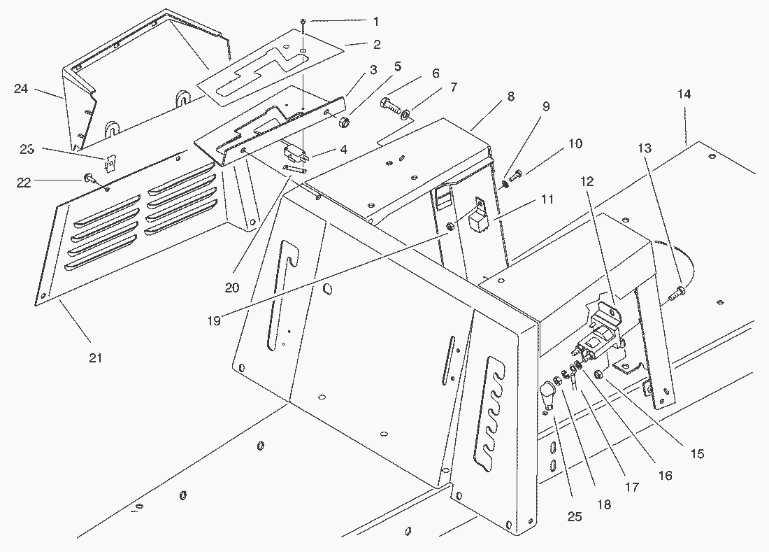
pos.descrizioneNĂºmero de pieza
1147665
293-7007
392-0895
488-9930
53296-29
6322-5
73256-23
892-0866
93256-14
103290-134
11116397
1247-1910
13321-4
1492-0860
153296-42
163253-3
1756-7670
183218-1
193296-2
203290-354
2192-0877
2232144-112
233290-191
2488-9800
2593-3190
Toro
Condizioni generali di contratto
(C) by motoruf