di nuovo a
>
>
>
>
>
>
>
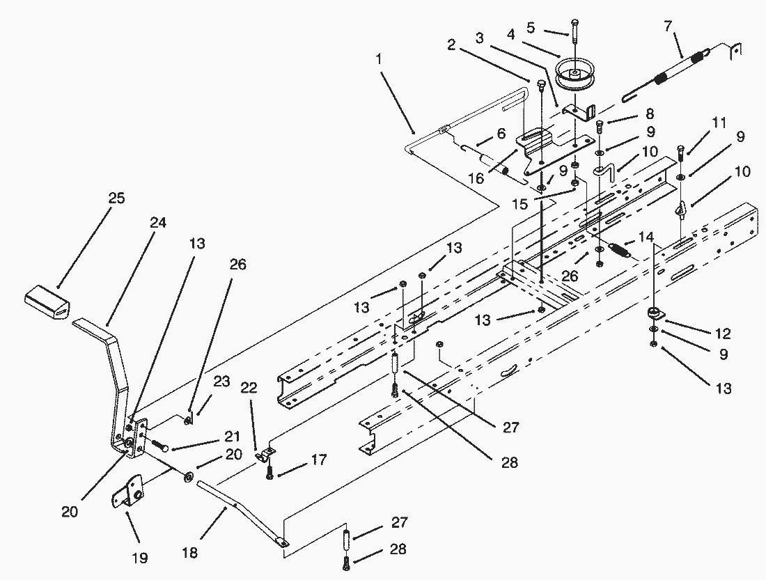
Liste dei pezzi di ricambio per Toro
pos.
descrizione
NĂºmero de pieza
1
88-5270
2
37-8770
3
88-5560
4
88-5680
5
323-11
6
27-8890
7
88-6140
8
322-5
9
5-4460
10
88-5460
11
322-7
12
84-5610
13
3296-29
14
88-6330
15
3296-59
16
88-6070
17
322-3
18
88-5500
19
88-4800
20
3256-26
21
3230-3
22
88-4810
23
3272-10
24
88-5000
25
65-2920
26
3256-23
27
46-5590
28
322-12
Toro
Condizioni generali di contratto
(C) by motoruf