di nuovo a
>
>
>
>
>
>
>
>
Liste dei pezzi di ricambio per Toro
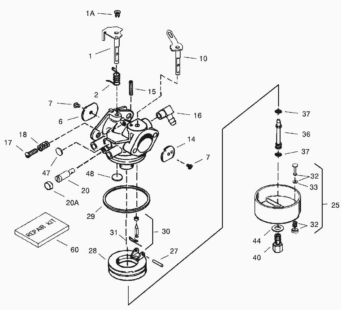
pos.
descrizione
Número de pieza
632594A
pos.
descrizione
Número de pieza
1
632777
1
36288
2
631970
6
640109
7
650506
10
632778
14
632189
15
630735
16
632527
17
651025
18
630766
20
640027
20
640053
27
631024
28
632019
29
631028
30
631021
31
631022
32
27136A
33
27554
36
640013
37
632547
40
640170
44
27110A
47
630748
48
631027
60
632760
Toro
Condizioni generali di contratto
(C) by motoruf