di nuovo a
>
>
>
>
Liste dei pezzi di ricambio per Toro
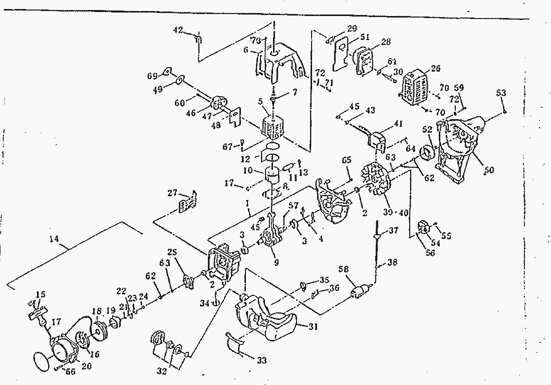
pos.
descrizione
NĂºmero de pieza
1
5031003000
2
0440129991
3
0600129920
4
5211500400
5
5031500200
6
5035001000
7
0650149810
8
5231500200
9
5032002001
10
5032500000
11
5012400600
12
5012500500
13
0565089980
14
5215005000
15
5215005140
16
5215005020
17
5215005130
18
5215005030
19
5215005040
20
5215005010
21
5215005050
22
5215005110
23
5215005120
24
5215005060
25
5215005150
26
5213501700
27
5215500000
28
5033004000
29
5013500200
30
5223500300
31
5036500000
32
5216004000
33
5036500100
34
5216500200
35
5036500200
36
5036500300
37
0851179990
38
0561059990
39
5037001000
40
5037001010
41
5037001020
42
0655009940
43
0241055000
44
0654009952
46
5213004000
47
0021704000
48
5203500200
49
5213501600
50
6165002000
51
5213501900
52
6152004000
53
0031512000
54
6162002000
55
6202500200
56
6202500600
57
0053203101
58
5016500300
59
0150059980
60
0140059690
61
0200089860
62
0011306160
63
0031206000
64
0043105160
65
0043505250
66
0043605140
67
0119059950
68
5219500200
69
5103503400
70
0043705140
71
6151500700
72
0031005000
73
0043605120
Toro
Condizioni generali di contratto
(C) by motoruf